大物用落し込みダブルギャフ、システム、ギャフ掛け方法は特許
高場から、どうやって一人で、下にいる魚にギャフを掛けるのか?
本品とその技術はそれを可能にします(特許=世界初!)。一人でやれます, タモ不要, バラシ激減, 高場からの単独取り込みを実現
A drastic change in landing will occur.
「ギャフ」の名称で特許が取得できた日本で唯一のギャフ
大物用落し込みダブルギャフとそのシステム及びギャフ掛け方法(取り込み方法=やり方)は特許、特許全八項目:
特許第4988949号及び特許第4988970号
「落し込みダブルギャフ」は登録商標:登録第5540603号
釣りの常識を覆す!
取り込みに革命!
目から鱗の新技術!
貴方の成果を強力にサポート!
超軽量、超コンパクトで高い携行性の本格派ギャフ!
落し込みダブルギャフ使用方法の最新版:
New!!↓
落し込みダブルギャフ使用方法の技術版:
落し込みダブルギャフ使用方法のダイジェスト版:
ユーザーズランディングフォット―八丈島 エース釣具店―「キハダ 130p 27.6kg」←クリック(キハダ用)
落し込みダブルギャフの代表動画:
この方は良く釣りますね大型を,今年(2023)も釣られたもよう(146cm、50kgある無し)。天気の関係で、一泊で切り上げ、帰り便で帰郷。一泊で大型GT一匹とは何て効率のいい釣りなの。普通は「ギ―ッ」「キタ―」「ブツッ」「・・・今のは凄かった」でお終いなのに、チャンスを確実にものにするというのは、準備ができているという事。(ご推薦のランディングシステム)
ギャフが食い込んだ写真が無いのが残念ですがギャフの事は本文中及び末尾にはっきりと書かれています。
ユーザーズランディングフォット(アラ14kg―YU-FISH)
ギャフ掛けの瞬間(?)とアラ14kgを釣られた塩田様(YU-FISH提供)
アラ14kgに食い込んだ落としギャフ・・中軸青物用−N(YU-FISH提供)
ユーザーズランディングビデオ1)「男女アラ14kg―ギャフ掛け編」:
全編(↓)は、編集が行われており、一見、ギャフ掛けのスムーズ性が分かりづらくなっておりますが、原ビデオを見ますと、ギャフはスムーズに掛かっていることが分かります。「YU-FISH」上田様からは、「写真、動画はご自由に使って頂いて大丈夫です!とても良い商品だったので皆さんにも知ってもらいたいので♪」と言うお言葉を頂いております。
ユーザーズランディングビデオ2) 「優魚YU-FISH、男女アラ14kg―全編」←クリック(中軸青物用−N)8:07〜9:05にイントロ、44:35〜54:10に本番
ユーザーズランディングビデオ 3) 「優魚YU-FISH、男女アラ10.4kg編」←クリック 0:10〜イントロ、19:48〜配置、30:20〜ギャフ掛け
このビデオは一人ランディングの大変さを示すリアルな内容になっています。柄付きギャフ(シャフト方式)と落としギャフ(当会ギャフ中軸青物用Wのロープを変え、カスタマイズ)の二方式を用意し、最終的にシャフト方式で取り込む事を決定し、魚が掛かったロッドとギャフのシャフトとの両方を持って(=両手がふさがった状態で)、急傾斜の岩溝を下り、魚に近づき、ギャフ掛けに成功した事例で、結果OKではありますが、こういう事をするのは危険です。この大変さ、危険さというのは、私から言わせれば、御本人が引き起こした結果です。12:43〜に魚のアップシーンが出てきますが、落としギャフで取り込むのに最適な状況です。(推定ですが)多分この方は、落としギャフを実際に今まで使った事がなく(ロープもギャフもきれい)、落としギャフに対する信頼が無かったから、使わなかったのだと思います。その結果危険な行為に及んだと。
此れはトカラ列島悪石島のやすら浜港ですね。このビデオは、落としダモを使っている為、当会ギャフとは直接関係ありませんが、トビウオ期のトカラ堤防GTフィシングの実像をよく表しており、大物志向の人に有益と考えますので、上記リンクを張ります。トビウオ期のトカラ堤防GTフィシングの詳細説明はこちら←クリック
此処にもトビウオ期のトカラ堤防GTフィッシングのビデオがあります。
トカラ堤防GTフィシングの技術2点はこちら←クリック
基本説明:
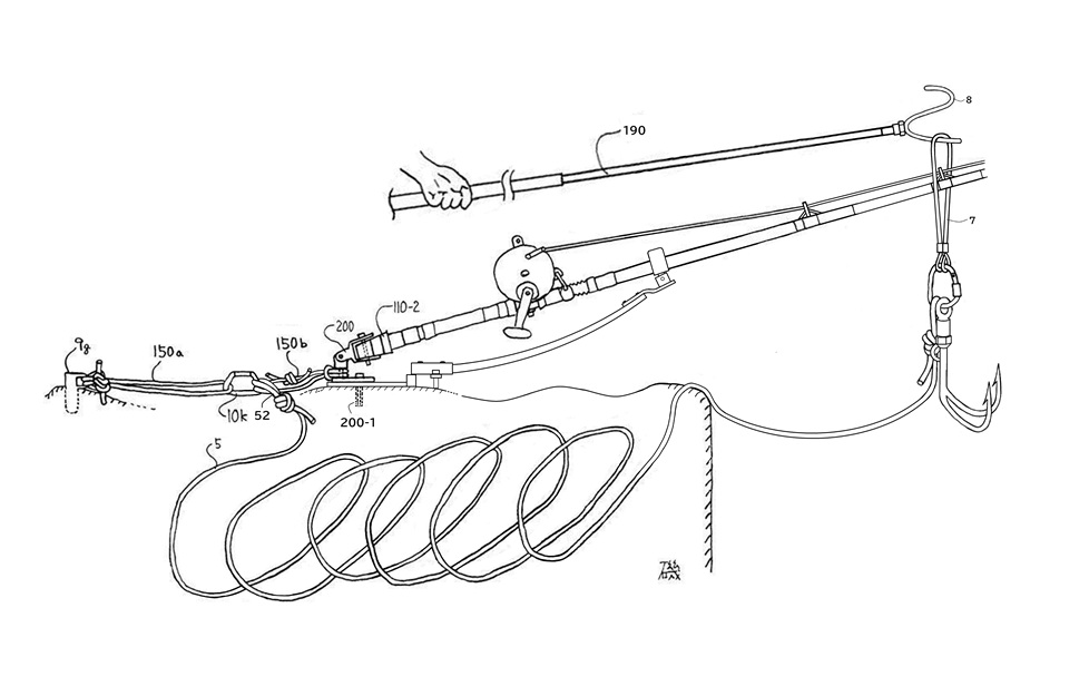
本大物用落し込みダブルギャフは高場からの単独取り込みを高い確実性で可能にします。本ギャフは、ガイドの役目を果たすループ体7を竿尻から通してリールの前に出すか、又はループ体7の片側72を事前に安全環付カラビナ2から外しておいて、取り込み時にリールの前側で、巻き体として道糸ごと竿に巻いて、カラビナ2に掛けてやり、その後竿伝い、道糸伝いにギャフを落とす使い方をします。この点に於いて、道糸を手で掴んで道糸にガイドを掛ける従来方式とは基本的に異なります。
本ギャフシステムの最大の利点は、単独での取り込みに於いても、竿を立てた状態を維持したまま(=ラインテンションの喪失無く)ギャフのセッティングを完了出来る事であり、且つ、リールのドラッグが機能しない状態を一時的にも引き起こす事無く(=高いサージテンションの発生無く)、ギャフのフッキングに到達出来る事です。ギャフを落とす時には竿先を下げますが、此の時はリールを巻きながら下げる訳ですから、ラインテンションの喪失は起こりません。従来方式(ガイド道糸取り付け型ギャフ)で、ラインを手で掴めば、5m有る竿の弾力が無くなるわけですから、魚が手前に突っ込めば、ラインテンションの喪失は避けられず、又この状態では既に竿は横に置かれている訳ですから、リールのドラッグは機能せず、魚が向こうに引っ張れば、高いサージテンションの発生は避けられません。
此れに対して、本ギャフシステムでは、単独であっても、竿の弾力とリールのドラッグ機能とを同時に維持したまま、ギャフのフッキングに到達できます。即ち、単独の場合に於いても、高い確実性で結果を得られます。此れにより、本大物用落し込みダブルギャフとそのシステム、及びギャフ掛け方法は特許が認められました。従来方式は、外側から魚にアプローチします。この結果、二人の人間が必要になります。此れに対して、本システムは内側から魚にアプローチします。此れは竿を立てたまま一人で出来る事なのです。落し込んだギャフセットは魚の口元に到達しますので、鯛のテンヤ釣りをするように手先を上下させてやると、程無くズシリと重みがかかりますから、そしたら力一杯ロープを引っ張ってやると、ガシリとギャフが食い込み、引き揚げOKとなります(魚を見て操作する必要はありません)。
棒ギャフ方式(ランディングシャフト方式)との対比において、本ギャフ方式は、高い足場から一人で取り込みを行わなければならない場合に、絶対的優位を有します。ロープは操作容易で、手に二役を可能にします(詳しくは<本ギャフを使いこなす為のコツ>参照)。ロープはハンドルと同時に握る事、ロッドと同時に握る事が簡単にできます。この事が、本ギャフが、通常の棒ギャフに対して絶対的優位を有する最大の要素です。ランディングシャフトを持った手でリールハンドルを回すことは不可能、又シャフトとロッドとを同時に一本の手で持つことも不可能、従って、棒ギャフ方式では、手が最低でも3本必要になります(実際には3本では無理で4本必要・・シャフト操作にフルに2本・・即ち2人必要)。これに対して本ギャフ方式では必要なすべての動作が手2本=1人で完結できる訳です。高い足場から一人で取り込みを行わなければならない場合に於いて、棒ギャフ方式は本ギャフ方式に絶対に勝てません。
落し込みダブルギャフの使用方法:
釣具店ブログ―八丈島 エース釣具店―  「キハダ 112p 17.6kg」←クリック(キハダ用)ギャフは写っていませんが本文中にしっかり書かれています。ランディングの吹越様は2019年4月4日にヤフオクでキハダ用を購入されています。更に、「キハダ 130p 27.6kg」←クリックを取り込み。ギャフは写っていませんが本文中に書かれています。吹越様ご使用の落としギャフ―キハダ用は・・・・「こちら」←クリック
ユーザーズランディングビデオ ヨネスケ氏 GT125p―27kg←クリック
  此処で使われているギャフは、キハダ用です(カラビナ=グリーンは旧モデル、現在は黒=ブラックダイヤモンド)。
ユーザーズランディングヒストリー トカラ堤防GTF釣りバカの戯言←クリック  久々に内容のある記事。自分の頭で考え、準備をして、結果を出されています。此れはキハダ用です。ロープを取り外した形、グリーンのカラビナは旧モデル(現行は黒)、ガイドはナイロンにカスタイズ。
ユーザーズブログ  「道なきところに道を作る」―カンパチ5Kg―  ←クリック(兼用型改造?)。「慣れてしまえば、重くてかさばるシャフト型のギャフはもういらないんじゃないか。」という言葉は重いですね。  また此方では、ブリ8.4kg←クリック(一般魚用)ランディング成功。ギンガメ5Kg×3本←クリック(中軸青物用) 「落としギャフもほとんど一発掛かりで、かなり使い慣れてきた。20キロぐらいまでの魚なら、こういう高い堤防でも落としダモを入れるよりも、使いやすいと思う」 と。磯ヤズ6kg←クリック(中軸青物用ーW)
<ユーザーズランディングフォット>  イタチザメ(タイガーシャーク)
  静岡県在住の中川様からランディング写真がメールで送られてきました。イタチザメ(タイガーシャーク)?サメは皮が硬くギャフが刺さりづらい事で知られています。
グッサリ刺さったこの写真は、サメでも上げられるということで、本ギャフの敵ではない事を示しています。
イタチザメの取り込み写真<中軸青物用―W>
中川様コメント:「本命の魚ではないですが、中軸青物用でこんなのがランディングできました!
二人がかりでの引き上げでした。このサイズ、磯からですとこのギャフのシステムでしか取り込みできないかと思います。
これからも20キロオーバーの青物狙いで愛用させていただきます!」
落し込みダブルギャフには七システム:
落し込みダブルギャフには、小型、中型、中軸―大型、太軸―大型があります。小型は1)一般魚取り込みシステムを構成し、中型は2)シーバス青物取り込みシステムを構成し、中軸―大型は3)中軸―青物取り込みシステムN/NS/W/WT、4)兼用型−中軸−青物取り込みシステム、及び6)キハダ取り込みシステムを構成し、太軸―大型は5)青物取り込みシステム、7)大物取り込みシステム、8)巨魚取り込みシステムを構成します。
一般魚用は耐強度25kgで、一般魚全般を対象とし、適用範囲:0.7kg〜10kgに対応。シーバス青物用は耐強度30kgで、大型シーバス、中型青物を対象とし、適用範囲:1.5kg〜16kgに対応。中軸−青物用は青物、シイラ、キハダを対象とし、耐強度60kgで、適用範囲:2kg〜20kg(6mmロープ)/24kg(8mmロープ)に対応(より大型への適用には更に太いロープへの付け替えを)。うち兼用型はアダプターの使用/不使用で落としギャフ/一般ギャフの切り替え可能。キハダ用は適用範囲4kg〜28kg(2人だと48kg―耐強度60kg)で回遊魚に。青物、大物、巨魚用は耐強度70kgで、大型青物、回遊魚、底物等を対象とし、適用範囲:2kg〜70kgに対応。キハダ用/大物用は磯キハダ単独取り込みに最適。
現在(5/14)の在庫状況:
←クリック
一般魚用・・アリ、
シーバス青物用・・アリ、
中軸―青物用N・・アリ、
中軸―青物用NS・・アリ、
中軸―青物用W・・アリ、
中軸―青物用WT・・アリ、
兼用型ー中軸ー青物用・・アリ、
キハダ用・・アリ、
太軸ー青物用・・アリ、
大物用・・アリ、
巨魚用・・アリ、
シングルギャフ・・アリ、
ダブルギャフ単体・・アリ、
<在庫に関する予測、生産予定>太軸タイプ(青物、大物、巨魚)はニューモデル(フック軸径8mm)を現在販売中です。シングルギャフは高強度青物ギャフ(フック軸径8mm)としてニューモデルが既に販売中。在庫切れ商品を予約される方は、10)予約、直販に関してを参照してください。
システム仕様:
取り込み限界内の()内数値はストッパーを使った場合の数値(ストッパーは上記システムに含まれず)。ストッパー(約100g)を使えば、引いた分だけ魚は上がり、其処で手を離せば、自動的に魚はその高度でロックされ、維持されます。ロックする為に手を操作する必要は無し(→引っ張っている両手の力を抜けば自動ロック)。即ち両手を離していくらでも途中で休めます(ストッパーに関して問い合わせあれば情報提供します・・ストッパーを使うには足場回りでの支点<ハーケンやボルト>が必須)。巨魚用は滑車を組み付けて半分の力で上がるようにした上で、プッシャー兼プーラー(特許)を併用し、完全置き竿釣法(特許)を実行する事により、単独での巨魚の取り込みを実現します。一人の腕力を越える取り込みが一人で可能。巨魚用は、ストッパーの組み込みが簡単に出来、最強の取り込みシステムが完成。滑車+ストッパーで、一人でありながら略二人分に近い引上げが可能。上記取り込み限界の数値は10mの堤防/磯で平均的腕力の釣り人が一人/二人で上げられる現実的数値を示したものです。太軸―青物用で一人で20kgというのは、ギャフが20kgしかもたないという意味では無くて(ギャフ耐強度は70kg)、6mmロープでは普通の人は20kgぐらい迄しか上がりませんよ、という意味です(→もっと大きい魚にはもっと太いロープを)。
本ギャフシステムの特徴<従来法の問題点とその解決>
本品は、ギャフも特許であり、取り込みシステム(ギャフを含む全体システム)も特許であり、補助システム(取り込みシステムからギャフを除いたシステム) も特許であり、使用方法(やり方)も特許です。本ギャフは基本的にシステム販売です。補助システムのアイデアは、1)フックが二本であっても、そしてギャフが小型であってもフッキングする事を実現し、2)針先が内側を向いていてもフッキングする事を実現し、そして、3)竿を立てたまま、且つ、リールのドラッグが機能しない状態を引き起こす事無く、ギャフのフッキングに到達する事を実現しました。
1)は対象魚の大きさの割に小型で携行性の高いダブルギャフを誕生させました。ダブルギャフはロープを二本のフックの間に挟む形で収納出来る為、コンパクトに持ち運びできます。⇒ランガンに適。
2)は二つの効果を実現しています。第一は、ロープを握った手に重みを感じ、ロープを引く時、ロープの方向と針先の方向が略一致し、ロープを引き抜く事により、一発でカエシを越えて湾曲部まで食い込ませる事ができます。第二は、引上げ途中に於ける、針掛かりしていないフックの障害物への引っ掛かりの問題を軽減させています。魚を引き上げる時、針掛かりしていないフックのカエシより湾曲部側の外側が磯又は堤防表面と接し、ロープとギャフの軸は一直線となり、針先は表面を擦るのではなく浮きます。これは、引っ掛かりの問題を軽減させ、針先の鈍りを軽減させます。
3)は単独での確実性高い取り込みを実現します。道糸にガイドを通す従来の落としギャフは、片手で道糸を掴み、もう一方の手で道糸に掛ける為にギャフを掴んだ状況では、魚が手前に突っ込めばラインテンションの喪失は避けられず、又向こうに引っ張れば、―竿は横に置かれ、リールはもはや機能しておらず―、高いサージテンションの発生は避けられません。此れは取り込みの確実性の喪失を意味します。本システムはラインテンションの喪失無く、且つ高いサージテンションの発生無く、フッキングに到達する事を実現します。
魚に直接ギャフを掛けにいく、或いはタモで掬いにいくのは、魚が大きく暴れる場合で且つ単独取り込みで足場が高い場合、容易にはいきません。片手は竿を支えている為、残りの片手だけで、長さが5mもある長柄を操作して、大物をタモ入れ/ギャフ掛けするのは至難の業です。魚が糸を引き出した場合、柄とハンドルとは同じ手では握れません。それ故、ドラッグを、きつめに締め、勝負に出ることとなります(片手では腕力は直ぐに尽きる)。その結果、魚は最後の大暴れをし、ハリスが切れるか、口切れを起こして、逃げて行ってしまいます。此れに対して、本ギャフ掛け法では、ロープを握ったその手でハンドルを回す事が容易にでき、又弛んだロープを引き、竿を持ったもう一方の手の人差し指又は親指に挟む事によって、間合いを詰める事も容易に出来ます。ロープを持つ手には力は掛からないので、腕力が尽きる事はありません。
<柔よく剛を制す>。見えている魚に直接ギャフを掛けに行くのではなく、魚にギャフをくっ付ける事を先ず行い、魚に暴れてもらって、魚自身にギャフを掛けてもらう。こうする方が、ずっと簡単で確実に目的を達成できます。特にルアーの場合は、ルアーと竿先の間に障害物となる物が何も存在しない為、確実性高くギャフ掛けできます。本システムでは、竿を持った手元から竿伝いにギャフを落とし込みますので、魚は首の周りにギャフを引っ掛けたまま、暴れる事となり、其のギャフを上からロープで引いたり、緩めたりするわけですから、掛かるのは確実であり、時間の長短の問題にすぎません。
本ギャフは、SUS304(=標準ステンレス=18―8ステンともいう→国内ギャフの殆どがこれ)ではなく、高強度特殊鋼を使用しています。SUS304の最大の欠点は其の柔らかさ(HRC硬度8〜10)であり、強度が低い点です(簡単に伸びます)。熱によって組織変化は起きず、焼きも入りません。ステンレス釣針は、SUS304ではありません。釣針メーカーは其の詳細を開示しておりません。此の非開示素材は熱処理が上手く行ったとして、HRC硬度50以上あります。釣針もギャフも、構造上片持ちであり、其の耐強度は硬度に大きく依存します。ステンレス釣針の単位体積あたりの耐強度はSUS304ギャフの4〜5倍あります。本ギャフはステンレス釣針と同じ素材を使用し、細線化を実現しています。本大型ギャフは、負荷テストを70kg迄実施し、フック1本で其れに耐える事を確認し、耐強度70kgの表記をしております。ギャフで価値をもつ要素は二点、カエシの存在と素材に高強度特殊鋼を使用している事。そしてこの二つがギャフの製作を困難にしている要素でもあります。本ギャフはこの二つを備えております。
本ギャフの適性<高い足場からの単独取り込みに威力>:
(ア) 本ギャフは、落し込みギャフ、落とし込みギャフ、落しギャフ、落としギャフであり、ダブルギャフであり、ロープギャフであり、青物ギャフであり、大物ギャフであり、釣りギャフ、釣り用ギャフです。
(イ) 本ギャフは、ショアジギング、ショア青物、ショアヒラマサ、ショア大物、ソルトルアーに好適であり、青物、大物、大型魚、巨魚、磯大物、堤防釣り、磯釣りに好適であり、単独での青物大物取り込みを実現します。
(ウ) 本ギャフは、高い足場での使用に適し、一人では使いづらい落しタモ(落としタモ、落とし玉)を不要とし、単独の場合の長いランディングシャフト(ポール・・ギャフ/タモ)を無用化し、一人では使えないフライングギャフを無用化し、大幅なコスト削減を実現します。釣り人が余計なお金を出費しなくて済むようにします。
(エ) 本ギャフは、シーバス、スズキ、ブリ、ヒラマサ、シイラ、ヨコワ、キハダ、キハダマグロ、マグロ、磯マグロ、GT、カッポレ、ガーラ、アラ、クエ、モロコ等青物大物のショア高場(堤防、磯)からの単独取り込みに威力を発揮します。
「本ギャフユーザーに対する助言」
使い方はマニュアルや各ビデオで示していることですが、一部の人が使いこなせていません。
<本ギャフを使いこなす為のコツ>を下記します。詳細はこちら←クリック
     「本ギャフを使いこなす為の必須9箇条」はこちら←クリック
1)ロープ操作は必ずリールハンドルを操作する手と同一で行う。
2)ロープは合わせを入れる時のみ引っ張るが、それ以外は常に十分すぎるくらい弛ませる(手を離す→落とす)。
  ロープを弛んだ状態にしておくことが肝要
3)引き上げは、第一弾としては、(右ハンドルの場合)右手でロープを引き、次に其れを、竿を持った左手(竿は親指と人指し指の内側基部で保持)の小指、薬指、
中指及び人差し指(小指が下側=魚側で人差し指側が上=竿先側)で竿と一緒に握り、引き上げ、更に今度は右手で・・・これを繰り返す。
4)「ギャフを落とす時のテクニック」:ギャフを落とす時は竿先を下げなければならず、ラインテンションが弱くなる訳で、本ギャフビギナーにとって、最も緊張する時です。足場の高さが不十分だと難しくなります。ギャフを落とすためには、水平より下に、竿先を持っていかなければならず、且つラインテンションの低下は最小に抑えなければなりません。この時のやり方は次のようにして下さい。魚が頭を左に向けて左に向かっている場合は、リールを巻きながら、竿先を斜め右下に持っていき、竿上を、ギャフを落とします。この時、ロープは掌の中をフリー(小指球=手刀側から掌に入り、中指と薬指の間から外に出す)で、ハンドルは親指と人差し指と中指で保持操作する。うまく落ちなければ、ロープを大きく振って、ギャフを叩き出すのも有効です。竿先を右下に持っていけば、じきに魚は右に動き出すので、今度は竿先を左下に持っていかなければなりません。一回のストロークでギャフを、竿先通過させるのが理想です。竿先通過すれば又竿先を立てればいい訳ですから。この時注意しなければならない事は、竿先の倒起はスローで淀みなく行う必要があります。決してジャンピング(パッと下げてパッと起こすこと)を起こしてはいけません。
5)「何時合わせを入れたらいいの?」に関して:「どのタイミングでアワセを入れるか?」が分からない方がいらっしゃる様ですので、下記情報を提供します。「魚が反転し、頭を向こうに持っていこうとする時=魚の胴と下にあるギャフが平面視で並んだ時」が成功する確率が最も高いですが、此れは実践で感覚を会得してください。アワセのタイミングは何回もあります。本ギャフ方式は腕が疲れないので、何回でもアワセを入れる事が可能です。
6)「トレブルフックの使用に関して」:本ギャフとトレブルフックは鬼門です。本ギャフ使用を前提とした場合、出来ればトレブルフックは使わない方がいいです。複数フックを使いたい場合は、トレブルフックの代わりにハリス付きシングルフックを二本設置してください。トレブルフックの場合、三本の針の一本が魚体に掛かり、残りの二本が外に出ておりますので、此れにギャフシステムの一部が掛かる危険があり、そうなった場合、重みを感じて引き上げようとすると(魚は激しく暴れており、5m以上離れていると、ギャフがちゃんと掛かっているかなど、目視では見えません・・重みで判断するのみ)、トレブルフックを針先を下に向けて持ち上げる事となり、此れは掛かっている魚から針を外す行為その物です。複数シングルフックの場合は、うち一本が魚体に掛かり、ギャフのフックが魚体に掛からずに、残りのシングルフックの一本に掛かった場合には、ギャフを引っ張っても、魚体に掛かっているシングルフックを逆方法に持ち上げる事は有りません。この場合、魚が上がるか否かは、シングルフックとハリスの強度によることとなり、しっかりしたフックを使っていれば、10kgか15kg位には耐えられるはずですので、そういう形であっても、魚は取り込めます。
生月シイラ(平戸シイラ)に関しては、色々な事が分かってきております。釣れる平均サイズは1m〜1m30cm(ペンペンを除く)。ルアーはご当地ルアー「アゴペン」を使用・・売り切れであれば市販のジグでも可。肝心なフックの使用法ですが、テールアイレットにスプリットリングを介して、大型のシングルフックを直結(ハリスは使用しない)。針は通常姿勢で針先が上を向くようセットする。此れにより針を上あごに掛ける事が可能になる。上あごに掛ける事を目指す。シイラは口が大きいので、食った時点でルアー全体が既に口の中に入っている。食ったら思いっきりアワセを入れ、針先を貫通させる。使用するフックはフトコロが深い(=スロートが長い)大型を使用する。以上のやり方は以前実績を上げている若手ルアーマンから教えてもらったやり方であるが、現在の地元常連氏達もこれでやっており、実績を上げているので、このやり方で何の問題もない。本ギャフとの関連で言えば、フックは一本しかなく、それは魚体に食い込んでいるので、他のフックがギャフとトラブルを起こす余地がない。基本的な考えとして、「ルアーを口の中に入れる」という事である。
7)針掛かりしていないフックがロープに絡むのを防ぐ有効な対策:本ギャフ使用時のトレブルフックの不使用に付いては、既に述べた通りですが、トレブルフックの代わりに、ハリス付きシングルフックを複数設置した場合に、針掛かりしていないフックが、ロープに絡む(正確にはロープの繊維に刺さる)トラブルは起こり得ます。この場合、魚が取り込めるか否かは、ハリスとフックの強度によることとなります。青物用のハリスとフックは強いものが多い為、10kg〜15kg位の魚であれば、そういう形であっても取り込めます。大型のシングルフックをテールに一本スプリットリングで(ハリス無しで)直結するやり方(ルアー全体を口の中に入れる・・アゴペン最高)であれば、何の問題もなく、従って何の対策も必要無いですが、複数フックを設置される場合に、針掛かりしていないフックがロープに絡むのを防ぐ対策を講じられる時は下記のようにされると効果的です。「ビニールテープを、先端側から60〜70cmの部分まで、ロープに固く巻き付ける。」此れで針がロープに刺さりづらくなり、この問題は軽減できます。この問題を完全に解消するには、ギャフリングに掛けたカラビナとロープとの間にワイヤー(3〜4mm径―60〜70cm長)をスペーサーとして、設置すればいい事は理屈からして明らかですが(ワイヤーに針は刺さらないので)、此れをやった場合に、此れがギャフの機能にどう悪影響を及ぼすかの実践確認が出来ておりません。ギャフがあらゆる方向に自由自在に動く事が、その機能を発揮する上で絶対必要、其の為には、ギャフ近くの線状連結体の柔軟性は不可欠です。この件に関して何か分かったら、追って情報提供します。
8)<特記事項>釣り人は概してロープ操作に慣れておらず、各マニュアルの事前準備にしつこく書いている「ロープ扱き(しごき)」(→シイラビデオ5出だし参照)を軽視する傾向があります。このシゴキをちゃんとやらないと、ロープがもつれてちゃんと機能しません。シゴキをちゃんとやればロープが素直になり、手先のように自在に使えるようになります。
「本ギャフ使用に於いて一番大切な事」<ロープとラインの絡みについて>
本ギャフ使用に於いて一番大切な事は「ロープを弛んだ状態に維持する事」です(前項<本ギャフを使いこなす為のコツ>の2)にリンク)。此れがちゃんとできていれば魚は掛かりますし、厄介な事は起こりません。しかしできていないと、ギャフが掛からないばかりか、
以下のような巻き付きトラブルが起こり得ます。詳細はこちら←クリック
ロープを張り気味にして、引っ掛けようというやり方は完全な間違いですから、やってはいけません。正規の使い方は「アワセを入れてフッキングしなかったら、ロープを離し落とす」であり、此れを繰り返します。即ちロープを弛んだ状態に維持することが肝要。弛んでいるという事は、ガイドが魚の口元に行っているという事=ギャフが魚の下に行っているという事です。
「弛ませる事が絶対必要」→弛んだ状態からアワセを入れる。ロープを掴んだままは絶対ダメ
それでロープが出過ぎたら、ロープを引いて、それを、竿を持つ手の人差し指又は親指に掛けて一時保持し、手を伸ばしてその先を掴み、引き、間合いを詰めます。此れができるようになった時、本ギャフを使いこなせたと言えます。
巻き付きトラブルは、落としギャフなのに落とさないで、ギャフを空中に浮かせて維持した結果起こりますが、実の所、大した問題ではありません。ギャフは一定の重みを持たせて作ってあり、引っ張ってしまっているから落ちないだけで、引っ張りを止めれば、数回巻き付いていたとしても、ギャフは自らの自重で落ち、魚の下に行きますから、ギャフとしての機能は有効、ガンガンアワセを入れれば掛かるのは時間の問題です(ビデオにある通り)。
<お買い物ガイド>ご購入方法は、amazon、yahoo shopping、ヤフオク、当会直販と四通りで、価格は同じですが、このうち最も安く購入できるのは、amazonのFBAとyahoo shoppingのヤマトフルフィルメントです。送料無料になりますから。AmazonのFBA(fulfillment by amazon=amazonによる実行)とは、事前にamazon倉庫に商品をまとめて納品しておき、商品が売れたら、amazonが自動的に出荷してくれて、売り上げ処理してくれるamazonのシステムです。送料無料はamazonが運送会社に対して持っている力により実現されるものです。yahoo shopping も最近ヤマト運輸とのタイアップにより、類似のシステムを開始しました。事前にヤマト倉庫に納品しておけば、yahoo shoppingで売れれば自動連係により、ヤマト倉庫から自動出荷されます(ヤマトフルフィルメントと呼んでいます=ヤマト運輸倉庫出荷)。ヤマトフルフィルメントは支払方法が限られます(クレジットカード決済、PayPay残高払い、PayPayあと払い可、・・・銀行振込、コンビニ払い、代引きは不可)。両システム以外の販売出荷方法は送料の一部(¥600)を頂いております。
amazon FBA=amazon販売且つamazon倉庫からの出荷→送料無料。yahoo shopping ヤマトフルフィルメント=ヤマト倉庫からの出荷→送料無料。
特殊仕様(ロープをもっと長くしてとか、太いロープを付けてとか標準仕様から外れるカスタム注文)はヤフオク又はメール直販でお願いします。Amazonやyahoo shopping は標準品の販売のみで、特殊品の販売は手間が掛かり過ぎて無理です。尚、ワイヤーガイドを付けている製品にナイロンガイド(オレンジ)を直接お送りする事は、ご連絡頂ければ、現在全て無料で対応しております。
1)一般魚取り込みシステム(特許)
現在、 amazon.co.jp
で「落し込みダブルギャフ(特許) 一般魚取り込みシステム 」の名称で「 ASIN :B00OGPS53E
」(JAN:4582497270082)で販売中(amazonFBA<amazonで購入amazon倉庫から出荷>は送料無料)
又、ヤフーオークションでは こちらで販売中
ヤフーショッピングはこちらで販売中
<在庫、直販に関して:5/21在庫あります。予約直販(価格同じ)は、10)予約、直販に関してを参照してください。
一般魚取り込みシステム仕様:
型式:WG6138G
JAN:4582497270082
J寸法(設計値)
ギャフ(カエシ付き):軸径6mm、フック軸径5mm、全長13.8cm、全幅7cm、フトコロ5.1cm
ロープ:径4mm×長さ13m(ナイロン編みロープ)
システム総重量:350g(うち、ギャフ自重180g)
適用範囲:0.7kg〜10kg(最適範囲1.3kg〜6kg、耐強度25kg)
適用高距:3(ルアーは2)m〜12m
材質:ステンレス(フック部−高強度特殊鋼)
対象魚:シーバス、小型青物(ヒラゴ、ハマチ)、クロ(メジナ)、オナガ、イカ等何でもOK(カゴ釣りは小型カゴのみ可)
製法:ハンドメイド
製造、販売: 服部商会
―通常、ライトショア用として使用されている中型スピニングはガイドが通過できます―。
本品は通常のカゴ無し浮き釣り及び小型〜中型リールを使ったライトルアーを対象とします。カゴ釣りや大型リールを使った本格的SWルアー(メインターゲット、5kg以上)にはシーバス青物用/中軸―青物用を推奨。10kg級大型青物でも、本一般魚用で確実に掛ける事ができますが、フトコロ寸法の関係から、掛かるまでの平均時間に差が出ます。本品は、ギャフの耐強度は25kgですが、ロープ径が4mmですから、素手で上げるには、12〜3kgが限界です。ガイド(赤い輪)7の内周はカラビナ2の内側長寸を含めて約48cmです。自分のリールをガイドが通過できるか否かは、紐で48cmの輪を作って、竿に取り付けた自分のリールを通過させる事により、事前に確認できます。(下のビデオのロープは旧モデルの物で今は新しいロープに変わっています)。
本ギャフのコンパクト性、携行性の高さを利用して、本ギャフを大型青物に使う使い方が静かな広がりを見せているようです。此れは当会が予想しなかった事です。確かに此れで、メーター級大型青物でも、掛ける事は可能です。唯、ガイド(オレンジ色の輪―ナイロン3mm)が大型リールを通過できる寸法になっていない為(片端をリール前側で巻いて、リングキャッチに嵌める事も可能ですが、慌てている状況では面倒)、この場合、自分のリールに合っているガイドを自分で作る必要がありました。そこで今度、そういう使い方(=付属のガイドが其のまま使えない場合)をされる方は、商品ご購入後、直接当会に言って頂ければ、組付け前のガイドキット(約70cm―3mmのナイロンコード1本+スリーブ2個)を別途当会から直接お送りする事と致しました(当分無料対応)。ペンチで簡単にガイド完成可能。唯この場合も付属のロープは4mmですから、10kg以上の魚にも、本ギャフを積極的に使っていこう、と言う人は、ロープも5mmに変える必要があると思います。ギャフが上半身に掛かった場合は目に見えて魚は弱りますが、尾側に掛かった場合等はあまり弱らず突進しますので、4mmロープでは、グリップが効かず、厄介な事に。当方の経験として、4mmロープで、13kgシイラにギャフを掛けた事が有り(この時素手)、ギャフは尾側に掛かり、シイラ突進、ロープが細すぎて、走りを止める事が出来ず、掌の中をロープが滑りまくり、結果として、手が火傷だらけになりました。10kg以上青物には5mmロープと薄手革手袋は必須です。
落し込みダブルギャフ、一般魚取り込みシステム(JAN:4582497270082)の全体及び寸法写真 (此れで10kg青物もOK)
<有益ネット情報>  「道なきところに道を作る」
   この方は、種子島の堤防で8.4kgのブリのランディングに成功。GTロッドの製作販売者に「一発でギャフも掛かった。・・・とても使いやすい。」「大活躍」とお褒め頂いたのは、最も小型の一般魚用です。又こちらでは5kgのカンパチのランディングに成功。こちらではギンガメ5Kg×3本のランディングにも成功。
2) シーバス青物取り込みシステム(特許)―
ニューモデル/ヘビーモデル
<シーバス青物用にはニューモデルとヘビーモデルとがあります>
ニューモデルは現在、 amazon.co.jp で「落し込みダブルギャフ(特許) シーバス青物取り込みシステム(ニューモデル) 」の名称で「 ASIN : B015RS4XLQ
」で販売中(amazonFBAは送料無料)
又、ヤフーオークションでは こちらで販売中
ヤフーショッピングはこちらで販売中
<在庫、予約、直販に関して:8/4在庫あります。予約、直販(価格同じ)は、10)予約、直販に関してを参照してください。>
シーバス青物取り込みシステム―ニューモデル―仕様:
型式: WG9167S
寸法(設計値)
ギャフ(カエシ付き):軸径9mm、フック軸径5.3mm、全長17cm、全幅8.6cm、フトコロ6cm
ロープ:径5mm×長さ13m(ナイロン編みロープ)
システム総重量:420g(うち、ギャフ自重195g)
適用範囲:1.5kg〜16kg(最適範囲2kg〜10kg、耐強度30kg)
適用高距:2(餌釣りは3)m〜12m
材質:ステンレス(フック部−高強度特殊鋼)
対象魚:大型シーバス、中型青物、中型シイラ
製法:ハンドメイド
製造、販売:服部商会
本品はSWルアーでの使用、ランガンに適。カゴ釣りは小型カゴのみ可。ライトショアジギングには本品が最適です。本品の使用により、高さが高いからと言って、ぶり上げ目的で、重いロッドを一日中振り続ける必要は無くなります。5kg以上をメインターゲットとした、ヘビータックルによる本格的SWルアーには別途用意の中軸ー青物用を推奨(60−80cm狙いはこちら、メーター級狙いは中軸ー青物用)。輪はペンバトル2、6000(自重626g、PE4-320m巻き)を通過できますので、略青物用として使われているリールは通過できるはずですが、通過できないで困っている人は直接言っていただければ、別途中軸青物ーN用輪をお送りします。リールはハンドルを手前側に位置させ、先にハンドルを通過させた後、本体を通過させるとスムーズに。通過はガイド内寸法のみで行うのではなく、必ず「ガイド内寸法+カラビナ内長寸法」で。―下のビデオは旧モデルでの取り込み実演―
落し込みダブルギャフ、シーバス青物取り込みシステム―ニューモデル―の全体写真
ヘビーモデルはヤフーオークションではこちらで販売中
ヤフーショッピングではこちらで販売中
シーバス青物取り込みシステム―ヘビーモデル―仕様:
型式:WG12180S
寸法(設計値)
ギャフ(カエシ付き):軸径12mm、フック軸径5.3mm、全長18cm、全幅8.6cm、フトコロ6cm
ロープ:径5mm×長さ13m(ナイロン編みロープ)
システム総重量:520g(うち、ギャフ自重288g)
適用範囲:1.5kg〜16kg(最適範囲2kg〜10kg、耐強度30kg)
適用高距:2(餌釣りは3)m〜12m
材質:ステンレス(フック部−高強度特殊鋼)
対象魚:大型シーバス、中型青物、中型シイラ
製法:ハンドメイド
ヘビーモデルはシーバス青物用―ニューモデル―の軸径を太くすることにより重量UPを図ったものです(フック自体は同じ)。軸径:9o(ニューモデル)→12o(ヘビーモデル)。これにより93gの重量UPを実現しました(ギャフ自重:ニューモデル195g→ヘビーモデル288g)。落としギャフはギャフ自重+カラビナ自重でTTL重量を考えますが、カラビナが軽い(25g)事が課題でした。これにより、TTL重量が220g(ニューモデル)から313g(ヘビーモデル)に変更になります。これにより、ヘビーモデルは重量が重くなった分、下記4点の改善が実現します。1)ギャフを落とす時、より落ちやすくなります。2)魚により刺さりやすくなります。3)ロープがラインに巻き付きづらくなります。4)ギャフが途中で外れた時跳ね上がり辛くなります。落としギャフは重すぎても弊害が出てきますが、本ギャフビギナーにとっては重い方が扱いやすいです。メーター迄の魚に適、メーター以上は青物用を。位置づけは;シーバス青物ニューモデル<シーバス青物用ヘビーモデル<中軸青物用各モデル;となります。
シーバス青物取り込みシステム―ヘビーモデル―の取扱い説明書 PDF表示
落し込みダブルギャフ、シーバス青物取り込みシステム―ヘビーモデル―の全体写真
シーバス青物取り込みシステムの単独ギャフ掛けのメカニズム図解:
(本シーバス青物用ではガイドの取り付けは、ループ竿尻通し方式を基本とするが、竿巻き付け方式も可能→マニュアル参照)
図1
<図1は、竿尻通し方式を基本とする本システムのループ体(7)を手首に掛け、取り付けを開始する状況を示す>
図2
<図2は、ループ体(7)を手首に掛けたまま竿尻を腹部から離し、手首を起こす事により、ループ体を元竿上に通した後、再び竿尻を腹部に戻して、ループ体(7)を、リールを越えて前進させ、その前に出した状況を示す>リールを巻きながら、竿先を下げ、ギャフを竿伝い、そしてライン伝いに落とす。
図3
<図3はシーバス青物取り込みシステムのギャフ掛けのメカニズムを示を示す>落し込んだギャフセットは魚の口元に到達するので、ロープを右手で持って、鯛のテンヤ釣りをする要領で、右手を上下させてやると、程無く(通常10秒から20秒程、長くても一分以内)、ズシリと重みが掛かるから、そしたらロープを強く引っ張ってやると、ガシリとギャフが食い込み、引上げOKとなる。
図4
<図4はシーバス青物取り込みシステムのフッキングのメカニズムを示す>ギャフを食い込ませた後は、カエシが効いて、ギャフが外れる事はまずないから、ロープを緩めても構わない。ロープを緩めた手で、リールのドラッグを緩め、糸を引き出して、竿を置いて、両手で魚の引上げを開始する。
以上のやり方により、シーバス青物(1.5kg〜16kg)の単独ギャフ掛け、取り込みが可能ですーそれ以上の適用には、3)中軸青物用をー。
<注意喚起:詐欺サイトが多数存在します>。当会ギャフは詐欺集団にターゲットにされており、多数の詐欺サイトに当会ギャフの写真文章が無断でそのまま載せられています(安く)。ネット上の当会ギャフの写真をクリックすると、詐欺サイトが表示されるようになっています(多数、価格は大幅安)。当会はamazon価格を下回る価格では何処にも卸しておらず、下回る価格で出回る事はありえません。当会が販売しているのはamazon, ヤフオク、yahoo shopping、ラクマの4窓口と直販のみで価格は同じ。詐欺サイトは商品を持っておらず、これは通信販売を装った振込詐欺ですから、引っ掛からないよう注意して下さい(ウイルスチェックが起動してブロックする所は全て詐欺サイト)。
3) 中軸−青物取り込みシステム−N/NS/W/WT
(Nはナイロンガイド+アルミカラビナ、NSはナイロンガイド+ステンレスカラビナ、WはPVCコーテッドワイヤーガイド+ステンレスカラビナ、WTはワイヤーガイド+ステンレスカラビナ+太ロープを示す)
Nは、 amazon.co.jp
で「落し込みダブルギャフ(特許)−中軸−青物取り込みシステム−N 」の名称で「 ASIN :B07DL35F8T
」で販売中
又、ヤフーオークションでは こちらで販売中
ヤフーショッピングはこちらで販売中
<在庫、予約、直販に関して:太(3φ)ナイロンコードの為、荒磯もOK。ナイロンガイドですので、ワイヤーをリーダーに当てる事に抵抗ある人にお勧めです。予約、直販(価格同じ)は、10)予約、直販に関してを参照してください。>
NSは、 amazon.co.jp で「落し込みダブルギャフ(特許)−中軸−青物取り込みシステム−NS 」の名称で「 ASIN :B07DL35F8T
」で販売中
又、ヤフーオークションでは こちらで販売中
ヤフーショッピングはこちらで販売中
<在庫、予約、直販に関して:此れもガイドが3φナイロンコードです。加えて、カラビナが頑強なステンレスカラビナですので、荒磯でのよりハードな使用にも適。生月シイラには此れが最適です。此れを使いこなすことによって、単独取り込みが容易にできる様になります。予約、直販(価格同じ)は、10)予約、直販に関してを参照してください。>
Wは、 amazon.co.jp
で「落し込みダブルギャフ(特許)−中軸−青物取り込みシステム−W 」の名称で「 ASIN :B07B8JB8KY
」で販売中
又、ヤフーオークションでは こちらで販売中
ヤフーショッピングはこちらで販売中
本品はガイドがPVCコーテッドワイヤーですので、最もハードな使用を想定したものです。使用方法等はシーバス青物用、青物用の欄をご参照ください・・・・
<在庫、予約、直販に関して:予約、直販(価格同じ)は、10)予約、直販に関してを参照してください。>
WTは、 amazon.co.jp
で「落し込みダブルギャフ(特許)−中軸−青物取り込みシステム−WT 」の名称で「 ASIN :B08VGVM2W2
」で販売中
又、ヤフーオークションでは こちらで販売中
ヤフーショッピングはこちらで販売中
本品はWのロープ径を太くして(6mm→8mm)、より大型の引き上げを可能にするものです。沖縄地磯クリフでの巨大マンビカ(1.3m〜1.5m)、磯マグロの取り込みに最適。
<在庫、予約、直販に関して:ワイヤーガイドに抵抗のある方は、直接言っていただければ、ナイロンガイド(オレンジ)を別途お送りしております(現在無料対応)。予約、直販(価格同じ)は、10)予約、直販に関してを参照してください。>
中軸−青物取り込みシステム−N/NS/W/WT仕様:
(N及びNSはナイロンガイド、WはPVCコーテッドワイヤーガイド、WTはワイヤーガイド)
型式:WG6190BN (ナイロンガイド+アルミカラビナ赤)
:WG6190BNS (ナイロンガイド+ステンレスカラビナ)
:WG6190BW (PVCコーテッドワイヤーガイド+ステンレスカラビナ)
:WG6190BWT (ワイヤーガイド+ステンレスカラビナ+太ロープ)
寸法(設計値):
ギャフ本体:軸径9mm、フック軸径6.4mm、全長19cm、全幅9.6cm、フトコロ7cm、フック幅8.6cm
ギャフ自重:225g
ロープ:N/NS/W―径6mm×長さ13m
  :WT―径8mm×長さ14m(ナイロン編みロープ)
ガイド:N/NS―ナイロン3mm
  :W―PVCコーテッドワイヤー4mm
  :WT―ワイヤー2mm
システム総重量:N―525g/NS―573g/W―575g/WT―867g
適用範囲:2kg〜20kg(N/NS/W)/24kg(WT)(耐強度はフック一本で60kg)
適用高距:2m(餌釣りは3m)〜12m(N/NS/W)/13m(WT)
材質:ギャフ―ステンレス(フック部―高強度鋼・・焼き入り)
対象魚:青物、シイラ、ヨコワ、キハダ、回遊魚等
製法:ハンドメイド
製造、販売:服部商会
規定(20kg又は24kg以上の対象に適用する場合はロープをより太いロープに組み替え使用して下さい)
落し込みダブルギャフ−中軸−青物取り込みシステム−N(WG6190BN)の全体写真
落し込みダブルギャフ−中軸−青物取り込みシステム−NS(WG6190BNS)の全体写真
落し込みダブルギャフ−中軸−青物取り込みシステム−W(WG6190BW)の全体写真
落し込みダブルギャフ−中軸−青物取り込みシステム−WT(WG6190BWT)の全体写真
男女群島で大型青物(ヒラマサ10〜20kg、キハダ20〜30s)の単独取り込みを目指される方は「中軸青物用―WT」を持参して下さい。「自分はヒラマサの20kgを釣るのだ」と言ってキハダ用を用意されるのは基本的に間違っています。何故なら、通常の釣り(ルアー)をする限り、ヒラマサアベレージ4〜6kgが先に食いつく可能性が高く、ブリ上げ/ズリ上げ出来なければ、ギャフを使わざるを得ず、キハダ用はそういう目的に作られておらず、1m有るか無いかような細型魚体に、キハダ用をそのまま使っても、はっきり言って掛かりは良くないです。何故なら、キハダ用は、ガイドとギャフフックとの間にわざわざスペーサー(シュリンゲ=補助ロープ―紫)を設置し、ガイド端からフックまでの寸法が約65cmもあるように引き離しているのです。キハダ用は130cmかそれ以上(20kg〜40kg)の大型回遊魚を取り込む為に作った特殊な物で、これだけのサイズの魚(キハダ、GT、磯マグロ)は頭が大きく且つ固く、この周辺にギャフは掛かりづらい為、此処を回避して、胴体腹回りにギャフを掛ける事とし、この位置に針先が来るようにしたものです。此れを、1mの細型魚体に使用しても、65cm位置の針先が魚体の真ん中より尾側に来て、此処は肉厚も細く、重量も軽く、ギャフが掛かりづらいからです。男女で通常ルアーで、大型青物狙いで、20kg以上のキハダが食ってきたとしても、何とか一人で取り込みたい(メインターゲット:1m〜1m30cm)と言う人は、キハダ用ではなく、「中軸青物用―WT」です(兼用型にしてロープを8oに組み替えるという手もあり)。男女で、それなりの道具で、生餌で超大型しか狙わないという人はキハダ用を。即ち男女で通常ルアーは「中軸青物用―WT」を、生餌での超大物狙いは「キハダ用」です。
「本ギャフを使いこなす為の必須9箇条第1項」ロープシゴキ、ある日のトカラ・・巨大磯マグロ(163cm-63kg)と異人の話
詳細はこちら←クリック
<ロープシゴキ> ロープギャフが難しいと言う人は、私が「必須9箇条第1項」に書いている「ロープシゴキ」をやっていません。クライマーが岩場の取り付きに着いたら、輪にしたロープを解いて、パートナーとの間でロープ(ザイル)を結び合いますが、この時ある事をします。ロープを端から端まで手で扱(しご)きます(一回から二回・・最低でも一回)。やり方→ビデオ使用方法22、技術編12:55〜(ロープシゴキ←クリック)。此れは必ずやります(毎回)。このロープシゴキをやらないでロープを結びあう事は絶対にないです。此れは何のためにやるのかという事ですが、此れはロープに内在するストレス(力)を開放し、伸ばしてやる為です。此のストレス除去をやらないとキンクが発生し、縺れやすくなり、ロープが大変使いづらいものになります。
<
糸巻にロープを巻くことは絶対ダメ>水汲みバケツに使われている糸巻にロープを巻くことはできません。此れをやると、ロープギャフは正常に機能できなくなります。片手で糸巻を持ち、もう一方の手でその周りにくるくると巻くと便利に見えますが、この動作がロープギャフにはダメなのです。一回巻くごとに一回捻る事になります(捻るつもりが無くてもそうなります)。この理屈を言葉で理解できない人に理解して頂く事は大変困難です。糸巻は径が小さい為、数十回もロープを巻くことになり、そうすると数十回も捻りが入る事になり、そして使う時は、必要な長さ分だけロープをパラパラと出して、両端のギャフと糸巻はそのままで、ロープを操作してギャフを掛ける・・・こういう使い方はできないのです。物理的にはできても、それやるとロープ上でいろいろなトラブルが起こって、ロープギャフがまともに機能できなくなり、ロープギャフは難しい、と言って投げだす結果になるでしょう。何十回も巻いて、何もしないまま、両端を引き延ばせば、数十回も捻り(=ストレス)が入ったままとなります。此れをそのままギャフ掛けに使えば、ロープがトラブル(縺れ、キンク)をおこす事は必至です。此れはロープに何かの問題があるのではなく(ロープには何の問題もない・・ロープとはそういうもの=ロープの特性)、ロープの特性を知らない使用者が、正規の使い方(=ロープシゴキ、必須9箇条第一項に規定)をしないで、安易な使い方をしたことに根本の原因があります。この捻りは、カラビナギャフ等連結物を全てロープから一旦外した上で、手で端から端までロープを扱く事2〜3回で、略解消除去できます。それにより、ロープを捻り(=ストレス)のない真っ直ぐな状態に伸ばして、使用できるようになります。その状態にしてギャフを掛ける事が絶対に必要です。糸巻は、ロープの両端をカラビナ(ギャフ)と糸巻自体に固定したまま、外さないで使う事を前提としたもので、当会ギャフの使い方(全て外した上でロープシゴキをやる)とは相いれないもので絶対使ってはいけません。またロープを収納する時は、(右利きだったら)左手の親指と人差し指の間の股と肘の周りに巻くことにより、早く巻けます(ロープ端は股から左手小指と薬指に巻き付け、抑える→そのうちビデオ出す予定)。そして使う時は巻きを解いたら、必ずロープを扱く、さらに終わって輪に巻くときもまた2〜3回扱いた上で巻く、こうしてロープを使うには常に扱く事が大事です。―――ロープは扱いて使うもの、ギャフは研いで使うもの―――。(⇒水汲みバケツはキンクだらけになってるでしょう、水汲みはそれでいい、水汲みは幼稚園児の仕事。高場から一人で、暴れまわる1m以上の魚に、ヘナヘナのロープで、ギャフを掛けるというのはエキスパートアングラーの仕事。・・・私が言っている事をちゃんとやらないと結果は出せませんよ。必須9箇条を全部やらないと。)
<有益ネット情報>   廣瀬一京氏(3ピースGTロッド開発者)ブログ「道なきところに道を作る」 ギンガメ5Kg×3本←クリック(中軸青物用) 磯ヤズ6kg←クリック(中軸青物用ーW)
<ユーザーズランディングフォット>  イタチザメ(タイガーシャーク)←クリック(中軸青物用―W)
8:07〜9:05にイントロ、44:35〜54:10に本番
4) 一般ギャフ兼用型落し込みダブルギャフ(特許)
現在、 amazon.co.jp
で「一般ギャフ兼用型落し込みダブルギャフ(特許)−中軸−青物取り込みシステム 」の名称で「 ASIN : B07198KC9B
」で販売中
又、ヤフーオークションでは こちらで販売中
ヤフーショッピングはこちらで販売中
<在庫、予約、直販に関して:ワイヤーガイドに抵抗のある方は、商品ご購入後、直接当会に言っていただければ、ナイロンガイド(オレンジ)を別途お送りしております(現在無料対応)。予約直販は10)予約、直販に関してを参照してください。>
一般ギャフ兼用型落し込みダブルギャフ仕様:
型式: WG6215B
寸法(設計値):
ギャフ本体;フック軸径6.4mm、全長17cm、全幅9.3cm、フトコロ7cm、フック幅8.6cm、自重200g
落としギャフ用アダプター;全長6.2cm、自重70g
ギャフセット(ギャフ本体+アダプター);全長21.5cm、自重270g
ロープ;径6mm×長さ13m(ナイロン編みロープ)
システム総重量:647g
適用範囲:2kg〜20kg(最適範囲3〜15kg、耐強度はフック一本で60kg)
適用高距:3m(ルアーは2m)〜12m
材質:ステンレス(フック部―高強度鋼・・焼き入り)
対象魚:青物、ヨコワ、キハダ、回遊魚等
製法:ハンドメイド
製造、販売:服部商会
(20kg以上の対象に適用する場合はロープを太ロープに組み替え使用して下さい)
本ギャフは、落し込みダブルギャフをネジ付きギャフ本体と落としギャフ用アダプターとからなるセパレート式にしたもの。このアダプターを取り付ければ、落としギャフとして使用でき、又これを外せば、通常のネジ式一般ギャフとして、タモの柄に取り付け使用可(ネジ一致)。アダプターのネジはギャフ本体に対して最後はグイッと締める事ができますから、使用中勝手にネジが緩む事はありません。事前に地形が分からない、沖磯での使用に適。
一般ギャフ兼用型落し込みダブルギャフの取扱い説明書
PDF表示
一般ギャフ兼用型落し込みダブルギャフ−中軸−青物取り込みシステムの全体写真
一般ギャフ兼用型落し込みダブルギャフのギャフ本体のみの写真
一般ギャフ兼用型落とし込みダブルギャフ(特許)のギャフ本体と落としギャフ用アダプターの組み付けの状況を示す図
一般ギャフ兼用型落とし込みダブルギャフ(特許)のギャフ本体と落としギャフ用アダプターとを組み付けた状況を示す図
本一般ギャフ兼用型落し込みダブルギャフ−中軸−青物取り込みシステムの落としギャフとしての使用方法は、シーバス青物用や青物用と基本的に同じですから、其方を見て頂くか、取説PDFを参照してください。此処での説明は省略します。
<有益ネット情報>  「道なきところに道を作る」
   この方は5kgのカンパチのランディングに成功(一般魚用でも8.4kgブリ取り込み→一般魚用)。此れは兼用型を改造?。
ワイヤーガイドの長さに関して:リール越えを行う時、ワイヤーの長さ(53cm)のみで越えようとすると寸法が足りず越えられません。⇒ワイヤーの長さ+カラビナ長(TTL60cm)で越えさせる。
即ち、1)リール越えの時、ワイヤーの両端(小ループ部)は安全環を間にして、両端に分けて上下に位置させて、リールを超えた後に、下側の小ループ部を安全環の上側に移動させて両端を揃え、落す様にします。
2)リールのハンドルは手前側(竿尻方向)に位置させ、ハンドルを先に通したのち、リール本体を通すようにした方がやり易いです。
上記1)、2)が正規のやり方で、通常青物用として使われているリール(D社4000〜5000番クラス)で通過に苦労する事はありません。
<ユーザーズ ツイート>      2021年12月2日 「必要になる場面はかなり少ないと思うけどコレを付けてないと単独釣行できない体になっちゃった」 「マツモトSS」←クリック
<ユーザーズアプリケーションビデオ>ゴリハンTV  「式根島キハダ祭り」←クリック
ギャフ単体使用例。26:35「ここで事件発生」以降。キハダ50s級?
<注意喚起:詐欺サイトが多数存在します>。当会ギャフは詐欺集団にターゲットにされており、多数の詐欺サイトに当会ギャフの写真文章が無断でそのまま載せられています(安く)。ネット上の当会ギャフの写真をクリックすると、詐欺サイトが表示されるようになっています(多数、価格は大幅安)。当会はamazon価格を下回る価格では何処にも卸しておらず、下回る価格で出回る事はありえません。当会が販売しているのはamazon, ヤフオク、yahoo shopping、ラクマの4窓口と直販のみで価格は同じ。詐欺サイトは商品を持っておらず、これは通信販売を装った振込詐欺ですから、引っ掛からないよう注意して下さい(ウイルスチェックが起動してブロックする所は全て詐欺サイト)。
5)キハダ取り込みシステム(特許)
現在、 amazon.co.jp
で「落し込みダブルギャフ(特許) キハダ取り込みシステム
」の名称で「 ASIN : B07DRQ85QC
」で販売中
又、ヤフーオークションでは こちらで販売中
ヤフーショッピングはこちらで販売中
<在庫、予約、直販に関して:ワイヤーガイドに抵抗のある方は、商品ご購入後、直接当会に言っていただければ、ナイロンガイド(オレンジ)を別途お送りしております(現在無料対応)。予約直販は10)予約、直販に関してを参照してください。>
キハダ取り込みシステム仕様:
型式: WG6190Y
寸法(設計値)
ギャフ本体:軸径9mm、フック軸径6.4mm、全長19cm、全幅9.6cm、フトコロ7cm、フック幅8.6cm
ギャフ自重:225g
ロープ:径9mm×長さ14m(ナイロン編みロープ)
ガイド:ワイヤー2mm
システム総重量(ギャフ含む):996g
適用範囲:4kg〜28kg(二人だと48kg、耐強度はフック一本で60kg)
適用高距:2m(餌釣りは3m)〜13m
材質:ステンレス(フック部―高強度鋼・・焼き入り)
対象魚:大型回遊魚(キハダマグロ、大型カンパチ、GT等)
製法:ハンドメイド
製造、販売:服部商会
使用方法は大物用と同じなので、次項の大物用ビデオを参照してください。ビデオ(参考)⇒https://www.youtube.com/watch?v=H_xy71ynPWU
落し込みダブルギャフ、キハダ取り込みシステムの全体及び寸法を示す写真
  やっとギャフ使ってくれました。此処で使われているギャフは、本ギャフ―キハダ用です。カラビナが現行品と異なるだけで、他は同じです(グリーンのカラビナは都合により、今は黒のブラックダイヤモンドに変わっています)。
  久々に内容のある記事を見た思い。「単独で取込みまで完結することが大前提」というのは本格派志向の証。道具(竿、リール)ばかり立派で、取り込みはどうするつもりなの?と首を傾げたくなるGTアングラーも。万一釣れた場合は、誰か他の人が助けてくれると思っている他人力頼みの人が多い。お互いにそうで、其処にまともな人が一人もいなかったらどうなるの?この方は、自分の頭で考え、準備をして、結果を出されています。此れはキハダ用です。ロープを取り外した形、グリーンのカラビナは旧モデル(現行は黒)、ガイドはナイロンにカスタイズしてあります。
  「注目して欲しいのは堤防の高さ…トカラの堤防は高いです。海面まで10メートル以上の所もある。 魚の取り込みは大変です。 とりあえず…使える道具のリンク先を添付しますのでご覧下さい ↓↓
落し込みダブルギャフ(特許) キハダ取り込みシステム
↑自分はこれを使ってます 」
-------------------------------------------------------------------------------------------------------------------------
こういう方に推薦して頂けるのは有難い。トカラの堤防は何れも高い、平均で10m(大潮干潮時最大12m)。私は9mmロープをダブル(二つ折り)にして、真ん中に動滑車を入れて、此れをギャフに連結(→本HP巨魚用参照)して、使っておりましたが、長さは30mでした。堤防はコンクリのブロックを積み木細工のように接合してあって、此の接合部分にハーケンを打てることが多く、此れを支点として、30mロープの両端を固定し、ギャフを使用していました。堤防端から3mの所にハーケンを打てたとして、30÷2=15,15−3=12,12−10=2ですから、30mロープでも、2mしか余裕が無かった訳です。GTを始めとした大型魚は、フッキング後体力の限りを尽くして突進し、人間との体力勝負に負けて、寄った時にはヨレヨレで(人間もヨレヨレですが)、2m有れば十分です。本キハダ用は9mmロープ14mでシングル方式ですから、14−10=4ですが、人間の立ち寸法1mが有るので、余裕は3mです。本ギャフは大物単独取り込みを実現させうるツールです。30kg位までなら、周りに人居なくても、腕力さえ残っていれば、一人で取り込める可能性はあります。
<場所、状況に応じた組み換え使用の勧め>
    キハダ用は130cmかそれ以上(20kg〜40kg)の大型回遊魚を取り込む為に作った物です。具体的に大型のキハダ、GT、磯マグロ等が釣れている状況で、それを狙って釣行している場合に使用してください。
    シュリンゲ(赤の補助ロープの輪)はスペーサーとして寸法調整の為に設置しているもので、ワイヤーガイド端からギャフフック位置までの寸法は約65cmあります。前記サイズのキハダ、GT等は頭が大きく且つ固く、この周辺にギャフは掛かりづらい為、胴体腹回りにギャフを掛ける事とし、この位置に針先が来るように、スペーサーを設けているものです。65cmという数字はどこから来たのかと言いますと、130/2=65という訳です。130cmの魚体の真ん中あたりにギャフを掛けるという設定です。此れをそのまま、1mあるかないかのシイラ、ツムブリのような細形魚体に使用しても、掛かりは良くありません(掛かるまでの時間の問題)。1mの細形魚体では、65cm位置の針先が魚体の真ん中より尾側に来て、此処は肉厚も細く、重量も軽く、ギャフが掛かりづらいからです。具体的に大型のキハダ、GT、磯マグロ等が釣れている訳ではない通常の釣りでは、中軸青物用の使用がベストです(NSを推奨)。又この青物用のロープだけを太ロープに変える使い方もあります。
    このキハダ用は、実質的に中軸青物用―Wに簡単にバージョンダウン(組み換え)できます。前記シュリンゲを取り外し、カラビナを直接ギャフリングに掛けてください(中軸青物用の写真を参照し、正確に取り付け・・ギャフリングにカラビナを背側から掛ける)。これにより、カラビナが違って、ロープを太くした中軸青物用―Wが出来上がります。通常の釣りはこのバージョンで行い(1m〜1m30cmくらいの魚は青物バージョンでOK・・問題なのは頭が大きい大型キハダ、GT等→此れをキハダ用で)、大型回遊魚の可能性が現実的にある場合は、キハダ用に組み戻して使用するという様に、状況に応じて、組み換え使用するのがベストです。
    シュリンゲは、輪にした物をギャフリングに潜らせているだけですから、取り外す時は、結び(フィッシャーマン結び)は解かないで、そのまま取り外して下さい(即ち、外したシュリンゲは輪になったまま)。結びは釣り人に馴染みがない結び方ですので、此れを弄ると、元に戻せなくなる可能性があります。
    大型回遊魚の可能性が現実的にある場合とは、トビウオ期のトカラ堤防GT狙い、大型キハダが食っている時期の八丈島キハダ狙い、マグロが食ってくることが分かっていても大きすぎて取り込めない男女マグロ狙い(特に生餌)、等です。こういう時はキハダバージョンで、「何時でも来い」とスタンバイされるのがいいと思います。
<PS>  「フックがキハダ用にしては小さい」とレビューに書いている人がいますが、当会ギャフはゲープの大きさで掛けるのではなく、システムの力で掛けるものであり、此れでちゃんと掛かります。やり方が全く違うのでシャフト用ギャフと同等のサイズである必要はありません。レビューは実際に魚に使用して頂いて、その結果に対する感想を書いて頂きたい。実使用無しのレビューは、実読無しに、目次だけ見て書いた書評と同じで、本人の先入観を表しているにすぎず、購入を検討している方は、この手のレビューは気にする必要はありません。本ギャフは仕様に各寸法を記載しているのみならず、写真に必ずメジャーを差し入れています(写真見なかったの?)。写真見てフックサイズに不満があったのなら、この上の商品(大物用又は巨魚用)を選択すればよかっただけの話です。堤防が高く大型キハダが時期により釣れる事で有名な八丈島在住の方で当会ギャフ(青物用又はキハダ用)を購入された方は結構居られるので、八丈島のキハダ狙いに一定数使用されている事は確かだと思います。30〜40sキハダ狙いで、本キハダ用が何の問題もない事は此処に明確に宣言します。メジャー付き写真だけでは実サイズが解り辛いという方はこちらのビデオを見て下さい(青物用もキハダ用もギャフ=フックは同じ)⇒ GAT船長紹介動画←クリック  。又、大型キハダ(50kg級?)にギャフが食い込んでいるビデオを見たいという方はこちらをどうぞ⇒ ゴリハンTV「式根島キハダ祭り」←クリック  (ギャフ単体使用例、26:35「ここで事件発生」以降)(中軸青物用、キハダ用、兼用型、Wギャフ単体これ等はフック自体はすべて同じ)。これ以上の適用には大物用(又は巨魚用=竿受け設置アラ釣り仕様に適)の使用を。写真はボーッと見るのではなく、心で見る、そうすれば違いが判らない訳ない。
    
<本ギャフ最初の魚>  本落し込みダブルギャフ(システムを含めて)を開発し、最初に上げた魚は、隣の釣り人が掛けた48kgのGTでした(約30年前・・トカラ)。滑車も既に組付けてあり(現巨魚用原型モデル)、当方のランディングシステムは完成していました。一人で10m下の魚にギャフを掛け、一人で40kgを上まで上げる準備(滑車なしでは一人では此れは無理)が整っていた。たまたま釣り場で一緒になった隣のU氏はアラ釣りセット3セット(推定道具代100万)を並べ、意気込んでいた。うちワンセット(ペン12/0に磯ハンター40号数百メートル)にGTがヒット、数十メートル走ったところでドラッグを少し締めると、磯ハンター40号(強度100kg)が簡単に弾け飛んだ。次に再びU氏の別のセット(こちらはシーハンター60号を百数十メートル)にヒット。ほとんど締めこんだリールから、「ビュー、ビュッ」と一気に糸が引き出され、約10秒で糸は全部出尽くし、ラインエンドに。牛のような相手に、置き竿なのに、近づき難い。しかしこのラインは強く、竿も強く、竿受けもしっかりしていた。竿は堤防先端内側角から10〜15m手前にセットされたいた。魚は先端外側に回っており、そこでラインエンドに達し、ゴンゴンやっていた。道糸は内側角、外側角と二か所コンクリート角と接していたが、切れなかった。U氏はリールを巻こうとしたが全く巻けなかった。皮手袋をした私は途中の道糸を掴み、以後二人で道糸を掴んで、魚一匹対人間二人の綱引きへ。軍配は人間の側に上がった(結局リールは1mも巻けなかった)。力尽きた巨大なGTが、大の大人の頭がズッポリ入る大きな口を開けて、私たちの足元6〜7m(トカラ堤防の平均高さは10mだがこの時先端は工事途中で一段低くなっており、この高さ)の所に横たわっていた。「さあ寄せたぞ、後は上げるだけだ」。しかし、ここに至って、100万?も掛けたU氏の道具立てには肝心な事が抜けていることが分かった。魚を上げられないのだ。通常の棒状ギャフを持っていたが、そんな物こんなとこ持ってきてどうするの?
  40〜50kgの魚を10mの高さがあるトカラ堤防の上に上げるというのは普通の事ではない。そういう釣りがしたいという人は、それを実行するにはどうしたらできるか、という事を自分の頭で考え、準備をしてこなければならない。そういう特殊な道具は釣具店には売られていない。釣具店に売られているのは商売になるもの=数が出るものだけである。U氏は「これはデカすぎて、上げるのは無理だから、糸切ろう」と言い出した。これに対して、私は「いや大丈夫ですよ、上がりますから」と言って、自分の竿のところにセットしていた自作落し込みダブルギャフセット(現巨魚用原型モデル)を取り外し、持ってきて掛けてあげた。魚は簡単に掛かった。この時二人で上げたが、ギャフを落とし、掛け、最初に引っ張るまでは一人であり、一人で引っ張って、48kgの巨体がふわっと空中に浮いた時は、頭の中で考え、これでいけるはずだ、と考えた理論が正しい事が実証されたと感じた瞬間であり、自分の魚ではないが、うれしかった。48kgの魚ということは堤防表面の摩擦抵抗を考えれば、手には60kg〜65kg位の重みが発生しているはずであり、普通のやり方では(=滑車無しでは)、一人では絶対に上がらない数値で、これが上がったということは滑車が威力を発揮しているという事である。
  U氏は釣具店にこのGTを持ち込み、正式計量し(実寸140cm−48kg)、そこで魚拓数枚を取ってもらい、うち一枚を私に送ってくれた。現認者には私の名前が記載されていた。又魚拓は地元船宿にも一枚送ったようだ。この船宿の玄関には長くこの魚拓が張られていた。その後、この船宿の長男氏が船頭を務める遊漁船で日本新記録(拓寸173cm−53kg)となるGT(記録は長さ)が上がった後も、この魚拓と並んでU氏の魚拓はまだ貼ってあったが、その後どうなったかは行ってないので分らない。
<有益ネット情報1>  ユーザーズランディングビデオ発見 BLUE FISHING←クリック
  メーター級シイラ青物には中軸―青物用がベストマッチです。キハダ用は離島での大型回遊魚狙いに。
  3:34頃にクローズアップ。→遂にギャフ使用、GT125cm-27kg
    
<有益ネット情報3>  八丈島 エース釣具店 ブログ
キハダ 112p 17.6kg
←クリック
  ギャフは写っていませんが本文中にしっかり書かれています。ランディングの吹越様は2019年4月4日にヤフオクでキハダ用を購入されています。更に、「キハダ 130p 27.6kg」←クリック を取り込み。ギャフは写っていませんが本文中に書かれています。
6)太軸−青物取り込みシステム(特許)
現在、 amazon.co.jp
で「落し込みダブルギャフ(特許)−太軸−青物取り込みシステム」の名称で「 ASIN :B0DF49DSBS
」で販売中
現在、ヤフーオークションで    こちらで販売中
ヤフーショッピングではこちらで販売中
<在庫、予約、直販に関して:現在、販売を開始しているところ、商品は手元にあります。登録完了迄暫らく掛かります。お急ぎの方は「10)予約、直販に関して」から直接購入する事もできます‥代引き発送を予定、数に限りアリ早い者勝ち。>
太軸−青物取り込みシステム仕様:
型式: WG8210B
―寸法(設計値)−
ギャフ(カエシ付き):主軸径9mm、フック軸径8mm、全長21cm、全幅11cm、高さ10cm、フトコロ8cm、フック幅10cm
ロープ:径6mm×長さ15m(ナイロン編みロープ)
システム総重量:778g(うち、ギャフ自重345g)
適用範囲:5kg〜20kg(二人だと40kg、耐強度はフック一本で70kg)
適用高距:3m〜14m
材質:ステンレス(フック部−高強度鋼)
製法:ハンドメイド
対象魚:大型青物、ヨコワ、底物、回遊魚等 (本品は対象魚に応じて太ロープに組み替え使用するのに適)
製造、販売:服部商会
落し込みダブルギャフ、太軸−青物取り込みシステムの全体及び寸法を示す写真 青物等(2kg〜20kg)の単独ギャフ掛けが可能です(詳細は PDF
を)。―それ以上には、6)キハダ取り込みシステム、
7)大物取り込みシステム、又は8)巨魚取り込みシステムをー
(以下ビデオは旧モデルでのもの)   (旧モデルはこちら )
(以下は全て旧モデルでの情報)
<ユーザーズフォット>  ブリ93cm、83cm
  愛知県在住の山元様からブリ捕獲の写真がメールで送られてきました。11月3日青物用をご購入後11月中に早速ブリ2匹を取り込まれたようです。
1)11月17日 ブリ93cm 8.4キロ
山元様コメント「ルアー丸呑みでしたので、ワイヤーが頭をくぐりエラで止まり、写真の状況でロープ引くだけで一発OK」「・・・難なく一発でギャフ掛かりました、写真ではギャフが外れてますが」
ブリ93cm 8.4キロの取り込み写真
当会:堤防に上げた後、魚が暴れる事によって、刺さりが浅かった場合、ギャフが外れる事は良くある事です。
2)11月25日 83センチ5キロオーバー
山元様コメント「誤ってギャフの向きを逆に送ってしまいましたが、魚の向き替えて一発で掛かりました」
ブリ83センチ5キロオーバーの取り込み写真
<有益ネット情報>  1)ユーザー投稿「マリアコミュニティ」
   この方はamazonで青物用に満点のレビューを付けて下さった方でマリアコミュニティに投稿して下さってます。初めての本ギャフ使用で、103cmを頭にシイラ6匹を掛け、4m(?)の足場から一人で取り込みに全て成功。
  本ギャフに関する記事や写真が五か所出ています(2015年7月28日、2015年7月30日-1、2015年7月30日-2、2015年8月2日、2015年8月13日)。メートル前後のシイラ3匹にギャフが食い込んでいます。
<有益ネット情報>  2)「毎日がNO FISH」
10月8日に
シイラ98cmの取り込みに成功。シイラにしっかりギャフが食い込んでいます。
末尾のコメント は有益です。
10/25追記:10月22の記事で
シイラ97cm取り込み
<有益ネット情報>  3)「地球最期の日も釣りがしたい」
   この方は、8月19日本ギャフ青物用購入後、ヒラマサ3匹(65cm、70cm弱、1m強)を取り込まれたようです。8月28日記事、ヒラマサ約65cmの取り込み。
   9月5日記事、ヒラマサ70cm?の回りに散乱した白いロープは青物用のロープです。メーターショアマサでは8mの足場からメーターオーバーのヒラマサ取り込み。ギャフは写っていませんが、本文にはっきり書いてあります。文脈からして、一人で取り込んだ事は明白。ランディング方法の選択は取り込みの成否を左右します。あなたの今のやり方で8mの高さから1mの青物を一人で取り込めますか?
<有益ネット情報>  4)5ch【大物】ショアからの泳がせ釣り【活き餌】
「156,161とその前後(150〜)」。実際に使用している人の意見は参考になります。
  従来法による、長柄ギャフを使った取り込みはこの様になります。ギャフ掛け専任者が両手を使いながら、ギャフを掛けるのにどれだけ苦労しているか、という事です。単独釣行であれば、片手は竿を支えている訳で、残りの片手だけで、此れを全てやらなければならないのです。貴方に其れができますか?自力で魚を取り込むのか、他人力を当てにするのか(→誰も居なかったらどうするの?)という問題です。本気で魚を取り込もうと考えるなら、単独釣行の人は、此処の所を真剣に考える必要があります。
7)大物取り込みシステム(ニューモデル)(特許)
<30年の使用実績、大物巨魚の取り込み多数>
現在、 amazon.co.jp
で「落し込みダブルギャフ(特許)―大物取り込みシステム(ニューモデル)
」の名称で「 ASIN :B0DF5WZ51W
」で販売中
現在、ヤフーオークションで      こちらで販売中
ヤフーショッピングではこちらで販売中
<在庫、予約、直販に関して:現在、販売を開始しているところ、商品は手元にあります。登録完了迄暫らく掛かります。お急ぎの方は「10)予約、直販に関して」から直接購入する事もできます‥代引き発送を予定、数に限りアリ早い者勝ち。>
大物取り込みシステム(ニューモデル)仕様:
型式: WG8210BO
―寸法(設計値)―
ギャフ(カエシ付き):主軸径9mm、フック軸径8mm、全長21cm、全幅11cm、高さ10cm、フトコロ8cm、フック幅10cm
ロープ:径10mm×長さ15m(ナイロン編み)
システム総重量:1403g(うち、ギャフ自重345g)
適用範囲:7kg〜28から30kg(二人だと50から55kg、耐強度はフック一本で70kg)
適用高距:3(ルアーは2)m〜14m
材質:ステンレス(フック部−高強度鋼)
製法:ハンドメイド
対象魚:大型回遊魚(GT,磯マグロ、キハダ)、底物(アラ、クエ)等
製造、販売; 服部商会
(本品はただのステンレス=SUS304ではありません、高強度鋼です、強度が全く違います、詳しくはマニュアル=PDFを)
本品は量産品ではなく、完全な手作り品で、職人が焼いて叩いて、カエシを切り、曲げて作っている物(素材が特殊=高強度鋼、冷間加工<加熱なしでの加工>不能)で、一日フルに作業をやって出来上がるのは、せいぜい一個です。カエシも無く、加熱もしないでベンダーでほんの数秒で曲がってしまうSUS304製品と同じではありません。SUS304(18-8ステンとも言う=標準ステンレス・・軟材=加熱急冷したとしても焼き入らず)で8mm径では30kgの魚にも耐えられません←確認済み
落し込みダブルギャフ、大物取り込みシステム(ニューモデル)の全体及び寸法を示す写真
(以下ビデオは旧モデルでのもの)  (旧モデルはこちら )
大物取り込みシステム(ニューモデル)の単独ギャフ掛けのメカニズム図解:
(本大物用ではガイドの取り付けは、ループ竿尻通し方式の太軸ー青物用とは異なり、竿巻き付け方式を実行する・・理由はマニュアル参照)
図1
<図1は大物取り込みシステムの全体図を示す>(ラッピングワイヤー4両端の両ループ41,42共閉じた状態)
図2
<図2は大物取り込みシステムのラッピングワイヤー4巻き付けのキーポイントを示す>左手で竿を支え、ファイティング姿勢を維持したまま、右手で掴んだカラビナ2を左手人差し指に受け渡す。ラッピングワイヤー4の、フリーとなって垂れ下がった他端側42を、右手で掴み、竿110及び道糸130を越えて向こう側に投げ下ろす。ワイヤー4は適度に柔らかく重みがあるから、竿の向こう側に垂れ下がる。竿の下から向こう側に右手を回し、他端側42を掴んで、カラビナ2のゲートに押し当てると、パチリという音と共に、内部に嵌まり込む(図2の状態)。最後に安全環を回して、カラビナ2をロックする。
図3
<図3は大物取り込みシステムのラッピングワイヤー4巻き付けが完了した状態を示す>両軸リールの場合は、竿110を上下180°回転させ、リール120を下側に位置させた状態で、左手でリールを巻きながら、竿先を下げ、ギャフを竿伝い、そしてライン伝いに落とす。
図4
<図4は大物取り込みシステムのギャフ掛けのメカニズムを示を示す>落し込んだギャフセットは魚の口元に到達するので、ロープ5aを右手で持って、鯛のテンヤ釣りをする要領で、右手を上下させてやると、程無く(通常15秒から20秒程、長くても一分以内)、ズシリと重みが掛かるから、そしたら力一杯ロープを引っ張ってやると、ガシリとギャフが食い込み、引上げOKとなる。
図5
図5は大物取り込みシステムのフッキングのメカニズムを示す。ギャフを食い込ませた後は、カエシが効いて、ギャフが外れる事は少ないから、ロープを少し緩めても構わない。ロープを緩めた手で、リールのドラッグを緩め、糸を引き出して、竿を置いて、両手で魚の引上げを開始する。
以上のやり方により、大物(7kg〜28kgから30kg)の単独ギャフ掛け、取り込みが可能です(詳細は PDF
を)。ーそれ以上の適用には、5)巨魚取り込みシステムを―
反面教師ビデオ発見
  こういう大変な思いする必要なし、当会ギャフを使えばこういうの簡単にギャフ掛けできます。この魚は一人で取り込めます。中軸青物用後の「ある日のトカラ・・巨大磯マグロ(163cm-63kg)と異人の話」も参照
●フライングギャフは片手では<一人では>操作できません。
●フライングギャフでの単独片手取り込みは、余程の幸運に恵まれない限り、事実上不可能。
●フライングギャフの柄を握ったその手でハンドルを回す事は完全不可能。
●本特許ギャフ掛け法は、高場からの大物単独取り込みを可能にする世界で唯一の方法です。
8)巨魚取り込みシステム(ニューモデル)(特許)と其れを使った完全置き竿釣法(特許)
<30年の使用実績、大物巨魚の取り込み多数>
(本ギャフ,本巨魚取り込みシステムで最初に上げた魚は隣の釣り人が掛けた48kgのGT-実寸140cmでした、約30年前→キハダ用に記載あり)
巨魚取り込みシステムには、沖磯専用モデル(ロープ長22m、WG8210W22)と地磯堤防モデル(ロープ長30m、WG8210W30)とがあり、両者はロープの長さが異なるだけで、他は全て同じです。滑車(=ギャフ連結)で折り返してダブルで使用しますので、沖磯専用モデルは高距10m迄、地磯堤防モデルは高距14m迄となります。沖磯は瀬渡しで渡った近くに竿をセットしますので、10mを越える足場に竿をセットする事はまず無く、ロープは22m有れば足ります。此れに対して、外洋の堤防、地磯はしばしば実質高距10m前後必要で、ロープ長は30mになります。
地磯堤防モデルは、現在 amazon.co.jp
で「落し込みダブルギャフ(特許)―巨魚取り込みシステム(ニューモデル)
」の名称で「 ASIN :B0DG2WZYTR
」で販売中
現在、ヤフーオークションで      こちらで販売中
ヤフーショッピングではこちらで販売中
沖磯専用モデルは、現在 amazon.co.jp
で「落し込みダブルギャフ(特許)―巨魚取り込みシステム(沖磯専用ニューモデル)
」の名称で「 ASIN :・・現在準備中・・
」で販売中
現在、ヤフーオークションでこちらで販売中
ヤフーショッピングではこちらで販売中
<在庫、予約、直販に関して:6/16現在鋭意販売中。予約は「10)予約、直販に関して」から受け付けます。>
沖磯アラ狙いは、従来法では、取り込みを第一に考えて、船着場周辺に竿をセットする事が多いかと思います。然しながら、船着場は階段状外傾地形になっている事が多く、後の岩が邪魔になって竿を十分振り込む事ができず、足元ドボンにならざるを得ません。且つ、夜釣り底物では、ウツボの猛攻は避けられず、階段状地形+足元ドボン+ウツボ処理で、魚側から見れば、目の前ライトチラチラ、音ガタゴトで、魚には丸見え、丸聞こえであり、折角アラが回ってきたとしても、何処かに行ってしまうでしょう。此れでは自らチャンスを潰している様なものです。此れは全て、ギャフの取り込み限界に起因して起こっている結果です。船着場周辺ではなく、少し離れた位置に存在する突起部(突端=鼻、5〜8m)の先端真上にアラ竿をセットする事を提案します。そういう所であれば足元からスッパリ切れ落ち、突起部の後にはオープンスペースが有り、竿を振り込んで遠投する事もできますし、餌換えやウツボ処理の際には竿を後に倒して、後側を向けば、突起が遮って光は魚には見えず、音も聞こえ難いと言えます。そういう所にアラ竿をセットできないのは、ギャフが届かず、魚の取り込みができないという理由だけなのですから。→この問題は本ギャフシステムが解決できます。
巨魚取り込みシステム(ニューモデル)仕様
(寸法=設計値):

(本品はただのステンレス=SUS304ではありません、高強度鋼です、強度が全く違います、詳しくはマニュアル=PDFを)
・・・・・本品は量産品ではなく、完全な手作り品で、職人が焼いて叩いて、カエシを切り、曲げて作っている鍛冶鍛造品(素材が特殊=高強度鋼、冷間加工<加熱なしでの加工>不能)で、一日フルに作業をやって出来上がるのは、せいぜい一個です。カエシも無く、加熱もしないでベンダーでほんの数秒で曲がってしまうSUS304製品と同じではありません。SUS304(18-8ステンとも言う=標準ステンレス、軟材)で8mm径では30kgの魚にも耐えられません←確認済み・・・・・
巨魚取り込みシステム(地磯堤防用ニューモデル)の全体及び寸法を示す写真
巨魚取り込みシステム(沖磯専用ニューモデル)の全体及び寸法を示す写真
   (旧モデルはこちら )
滑車の基礎理論
滑車の基礎理論は小学校か中学校あたりで習った初等知識ですが忘れてしまっている人が多いので、改めて此処で説明します。下記に滑車の基礎理論図を示します。
<滑車基礎理論図>
説明「単純な滑車システム。単一の動滑車に重量 W の錘が釣り下がっている。線の両端にかかる張力は W/2 となる。力は線の両側に等しくかかり、その一方は天井に固定されている。もう一方の端を引っ張るとその力の2倍の重さの物体を持ち上げることができる。重量を引き上げるのに必要な力は W/2 (半分)だが、所定の高さまで引き上げるのに2倍の長さの線を引き上げる必要がある。」
此の滑車基礎理論図とその説明はWikipediaよりコピペ、リアレンジしたものです(http://ja.wikipedia.org/wiki/%E6%BB%91%E8%BB%8A)。
滑車の基礎理論は、表面抵抗も、滑車の抵抗もないと仮定した純理論です。純理論では、30kgの魚を普通の引上げ方(=滑車無し)で上げるには、30kg以上の力を釣り人が発揮すれば、魚は上がり、滑車を動滑車(上図の様な使い方)として使えば、30/2=15kg以上の力を釣り人が発揮すれば、魚は上がります。実際には、磯又は堤防表面の摩擦抵抗が此れに加わり、滑車を使えば滑車の抵抗も加わりますので、此の30kg又は15kgでは魚は上がりません。仮に摩擦抵抗で1.3倍になり、滑車の抵抗で1.1倍になると仮定しますと、30×1.3=39であり、30/2×1.3×1.1=21.45となりますので、ロープを普通に引っ張って(=滑車無しで)30kgの魚が上がり始める時の力は39kgとなり、滑車を使えば21.45kgで上がり始める事になります。仮に40kgの魚を滑車で上げる事を考えてみますと、40/2×1.3×1.1=28.6となり、39>28.6ですから、普通のやり方(=滑車無し)で30kgの魚を上げられない人が、滑車を使えば40kgの魚を上げられる可能性は十分あります。
基本説明
大物取り込みシステムに滑車を組み付けたシステムが巨魚取り込みシステムです。完全置き竿釣法(特許)は、ファイト時のみならず、取り込み時に於いても、竿を竿受けに置いたまま起こす事無く、巨魚の単独取り込みを果たすもので、本巨魚取り込みシステムを利用する事により実現可能となります。本完全置き竿釣法では仕掛け投入後、魚を足元に横たえる迄、竿は一切起こしません。
滑車の説明をしますと、先ず足元回りに支点(ボルト、ハーケン等)を設置します。ロープの中央に滑車を位置させた状態で、ロープの両端とも支点に固定し、ロープの他端のみを引っ張れば、ロープの一端側(支点)と手とは同じ力が掛かりますから、滑車に連結されている負荷は二等分され、魚の重量の1/2の力を釣り人が発揮すれば、魚は上がります。正確に言えば、「(魚の重量+磯/堤防表面の摩擦抵抗分)×1/2」(滑車の抵抗をゼロと仮定した場合)の力を釣り人が発揮すれば魚は上がります。荷重の半分は支点に受けてもらい、残りの半分のみを釣り人が引き受ける訳です。滑車の抵抗はローラーがスムーズに動く限り小さいので、逆の言い方をすれば、滑車を使わないで普通にロープを引っ張って上げられる限界重量の二倍近い重量の魚が、滑車を使う事によって上げられます。若し単独釣行でありながら、本気で30〜40sの魚を取り込もうと考えているのなら、本巨魚取り込みシステムは不可欠の物です。即ち、本システムは、第一に単独ギャフ掛けを可能にすると共に、第二に通常のやり方では一人では上げられないサイズ(重量)の魚を上げる事を可能にしています。そして此の二つの機能は、シンプルで携行性に優れた構成により実現されています。
完全置き竿釣法は、此の巨魚取り込みシステムを使って行います。竿が比較的軽く、又体格面で恵まれていれば、スタンディング又は尻餅ファイトで、魚を寄せる事も可能でしょう。然し、若し竿が1.5s以上のクエ竿の場合、一人では竿は立てられません。板バネは、重くて嵩張る事と、竿が硬い場合ボルトに高い負荷が掛かる事が難点です。セパレート方式(竿尻受け+前立て)でやっている人に、本システムと其れを使った完全置き竿釣法はベストフィットです。魚を竿下迄寄せた後、前立ての前側で、ラッピングワイヤー4を道糸ごと竿に巻き付け、カラビナ2に掛けた後、プッシャー兼プーラー(8、特許)でギャフセットを竿伝いに押し出し、落すと、魚の口元に到達します。ロープがダブルになっているので、二本一緒に握ったまま、上下させると、ギャフは魚体の何処かに簡単にフッキングします。手にズシリと重みが掛かりますから、すぐに分かります。魚を見てコントロールする必要はありません。重みが掛かったら、力一杯、二本一緒に引き上げると、ガシリとギャフが食い込み、引上げOKとなります。その状態になれば、カエシが効いて、ギャフが外れる事は無いので、ロープを持つ手を緩めて、その手でドラッグを緩め、ロープの片方を離し、もう一方のみを握って引上げを開始する。此れにより、ギャフ連結の滑車は動滑車として作動し、荷重の半分は支点が受け、残りの半分のみを釣り人が引き受け、40kg級の魚でも一人で上がります。
滑車無しに、ロープを直接引っ張って一人で40kgの魚を、9mmか10mmのロープで、引っ張り上げるなどという事は、普通の体格の人には、可能ではありません。板バネを使っている人は角度を低めに設定するか、又はラッピングワイヤー4を板バネの前側で竿に巻いたのち、竿尻の固定ピンを外して、竿を傾け、ギャフを落とす使い方になります。大物用落し込みダブルギャフを使った単独ギャフ掛けのメカニズム、やり方については青物用及び大物用で十分説明してありますし、取り込み実演ビデオも出してありますので其方を見て下さい。本巨魚取り込みシステムでは、同システムを使った完全置き竿魚法と滑車の使い方の理屈を図解で説明します。
巨魚取り込みシステムと其れを使った完全置き竿釣法の図解:
(本巨魚用ではガイド4の取り付けは、大物用と同じく、竿巻き付け方式を実行する)
<図1は巨魚取り込みシステムの全体図を示す>(ラッピングワイヤー4両端の両ループ41,42共閉じた状態)。本システムの特徴は滑車6が組み付けられている事である。滑車は、両端が支点に固定されたロープの中央に位置し、ロープの片方のみを引っ張る事により、動滑車として作動し、魚の重みの半分のみを釣り人が引き受ければよい効果を実現する。要するに、滑車の威力で、魚の重みが釣り人にとって、滑車を使わないで直接ロープを引っ張り上げる時の半分になる訳である。
<図2はプッシャー兼プーラーを示す>。プッシャー兼プーラー(特許)は小物用3〜4mのタモの柄に取り付け(ネジ合います=ウイットネジ1/2)て使用し、二つの役目を果たす。一つ目は、置き竿ファイトで、竿下まで寄せた魚に対して、ギャフセット(本巨魚取り込みシステム)を竿伝いに押し出す役目を果たす。此れにはU字型をしたプッシャー部を使用する。此れにより、ギャフ掛けの為に、竿を竿受けから起こす必要は無くなる。竿を起こしたら、モーメント(トルク)が高すぎて、剛竿での大物、巨魚の単独取り込みなど、事実上不可能である。二つ目は、大型外道の際の、ラインカット処理の為の道糸掴みの為に使用する。此れにはフック型をしたプーラー部を使用する。魚を寄せて、魚の姿を確認した後、本命であればプッシャー部でギャフを押し出し、外道であればプーラー部で道糸を引っ掛けて掴み、ディープシャークをセットして、落とし、ラインカットする事になる。
<図3は、巨魚取り込みシステムを使用して行う完全置き竿釣法の実行を示す図であり、プッシャー兼プーラーのプッシャー部で同システムを押し出す状況を示している>。ロープ(5c)の両端(5c1,5c2)は支点(ハーケン9g)から伸びたカラビナ(10k)に掛けられ、其れによりロープ5cは巨大なループ体を形成しており、其の中央には滑車(6)が位置している。滑車はギャフセットに組み込まれて一体となっている。釣り人は魚を寄せた後、竿受け180bの前側で、両手を使ってラッピングワイヤー4を道糸ごと竿に巻き、カラビナに掛ける。其れにより、ラッピングワイヤー4は、ループ体を形成し、ギャフセットは、ラッピングワイヤー(4)を介して、道糸に掛かっている。此れにより、タモの柄に取り付けたプッシャー兼プーラー8で、ギャフセットを押し出し、落し込めば、ギャフセットは確実に魚の口元に到達する。
<図4は、上記図3のやり方でラインガイドの通過がスムーズにいかない場合に、ギャフセットをプッシャー部に引っ掛けて持ち上げ一気に通過させるやり方を示す>スムーズにいかないのは最初の3〜4個のみで、後は魚の重みで竿中から先は下がっているので、ギャフ及び滑車の重みで勝手に落ちる。
<図5は巨魚取り込みシステムのギャフ掛けのメカニズムを示す>。落し込んだギャフセットは魚の口元に到達するので、ダブルになったロープ5cを右手で二本一緒に持って、鯛のテンヤ釣りをする要領で、右手を上下させてやると、程無く(通常15秒から20秒程、長くても一分以内)、ズシリと重みが掛かるから、そしたら力一杯二本一緒にロープを引っ張ってやると、ガシリとギャフが食い込み、引上げOKとなる。
<図6は巨大魚取り込みシステムのフッキングのメカニズムを示す>。ギャフを食い込ませた後は、カエシが効いて、ギャフが外れる事はまずないから、ロープを緩めても構わない。ロープを緩めた手で、リールのドラッグを緩めて(此れを忘れると、上げる途中でギャフが外れた場合、竿を折る事になる)、両手で魚の引上げを開始する。
<図7は完全置き竿釣法に適用された巨魚取り込みシステムを使用しての、魚引き上げの状況を示す>。
ロープの一端は支点(ハーケン9g)に掛けられたシュリンゲに掛けられたカラビナ10kに掛けられている。又ロープの他端もカラビナ10kに掛けられている。釣り人は滑車6から出たロープの他端側のみを掴み、引っ張る。此れにより、支点(9g)側と釣り人の手には同じ負荷が掛かり、結果的に魚の荷重の半分の力を発揮すれば、魚は上がってくる「(魚の重量+摩擦抵抗分)×1/2+α(滑車の抵抗)」。
<図8は大型外道処理の為、ラインカッターをセットすべく、道糸を掴む為にプッシャー兼プーラーのプーラー部で道糸を引っ掛けて寄せる状況を示す>。
大物竿では道糸迄手が届かないので、外道の際の道糸掴みに苦労する事になるが、此のプーラー部で道糸を引っ掛けて掴む事ができ、ディープシャークを落としてラインカットすればよい。
以上のやり方により、巨魚(5kg〜40kg)の単独ギャフ掛け、取り込みが可能です(二人だと70kg、耐強度はフック一本で70kg)
危険性の周知、警告←重要
本巨魚取り込みシステムは荷重の半分を支点で受ける訳ですから、その支点が安全確実な物であることが本システム使用の絶対条件です。図3に於いて、ロープの両端(5c1,5c2)はカラビナ10kに掛けられ、此れはシュリンゲ150aを介してハーケン9gに繋がっておりますので、若し、ハーケン9gが抜けたなら、ボルト200−1が其のバックアップとなります。又、魚が掛かった場合のボルト200−1の抜けの危険に対してはハーケン9gがバックアップとして機能します。又、図7に於いて、釣り人は腰のまわりにシュリンゲ160c(=腰紐)を巻き、此れに、別のリス(割れ目)に打たれたハーケン9hから伸びたシュリンゲ160aにセットしたカラビナ10aを掛け、其れによりセルフビレイ(自己確保)を取っており、その長さは事前調整されています。此れは、支点が抜けた場合に事故に巻き込まれる危険を防ぐ為に三重の安全策を講じている事を意味しています。
磯の上では比較的ハーケンを効かせやすいです。ハーケンが効いているか効いていないかは音で判別できます。高い金属音がすれば効いていますし、鈍い音がすればあまり効いていません。又ハーケンはそれ自身の面に直角の方向の荷重には耐力がありますが、面に平行な方向(=幅方向・・堤防では殆ど此れになる)の荷重にはあまり耐力が有りません。堤防の上ではハーケンの使用は限定され、且つ、ハーケンを使いこなす事は難しいです(効きが悪い)。若し、堤防の上で、効いていない支点(ハーケン)で、荷重を受け、40kgの魚を10mの堤防の上に上げている時、8mの所で支点が抜けたら、どうなるか?支点に繋がっているロープや付属物で足をすくわれたらどうなるか?致命的な事故につながる事は確実です。ロープを跨いではいけません(荷重ラインから体を必ず横にずらす=抜けた場合にハーケン付きロープが流れる、飛んでくるライン上に体を置かない・・・抜けた場合の事を常に考える)。
磯からの底物釣りを全くやっていない人はハーケンにも慣れていないと考えられ、そういう人が、ボルトの使用無しにハーケンだけで、滑車方式(本巨魚用)を堤防で使いこなせるとは、考えられませんし、危険が高すぎます。依って、アラ(クエ)用竿受け(板バネ又はセパレート式)を設置する場合を除いて(この場合は必ずボルトを設置するので此のボルトが支点として利用できる)、堤防での使用は原則禁止とします。当商会は安全確実な支点の設置を本巨魚取り込みシステム使用の絶対条件としますので、安全確実な支点であれば抜ける事はありえず、更に、安全確実な支点に対して、別な安全確実なバックアップを取る事、更に釣り人が安全確実なセルフビレイを取る事、其のセルフビレイ用支点は荷重ラインとは別のラインに取る事、そして其のセルフビレイ用ロープの長さは足を掬われて転倒した場合にも、磯(又は堤防)の端(角)から先に体がいかない様、事前に長さ調整されている事を追加の条件とします。
本巨魚取り込みシステムはそれ自身の中に何も危険な要素は内在してはおりません・・・使用者が基本的事項を認識し、正しい使い方をする限り。然し、その認識が欠落していれば、重大な危険を使用者自身が惹起しうるという事です(支点が効いているか効いていないかなど当商会の与り知らない事です)。以上の様な訳ですので、堤防での使用には大物用の使用を推奨します。磯にしろ堤防にしろ、滑車方式(巨魚用)を使うレベルに自分が達しているかどうか自分で判断し、どうしても滑車方式(本巨魚用)を使うという人は、後は自己責任です。基本的な適用としては、ルアー大物→大物用、置き竿アラ釣り仕様→巨魚用となります。
  取り込みの準備がなく、取り込みできないで困っている、たまたま居合わせた釣り人の魚を取り込んであげる、というのは、本ギャフで繰り返されてきたことです。本巨魚用の関連記事が下記に出ています。
1)キハダ用→本ギャフ最初の魚
2) 中軸−青物用→「本ギャフを使いこなす為の必須9箇条第1項」ロープシゴキ、ある日のトカラ→詳細はこちら
9)その他の商品
a)落し込みイカリギャフ、烏賊一般魚取り込みシステム―特許―
(特許第4988970号の請求項1「ギャフ掛け方法」と同請求項2「ロープギャフ用補助システム」の技術を使用)
<在庫、直販に関して:在庫はありません。次の販売の目処は立っておりません。>
b)高強度青物ギャフ
現在、ヤフーオークションで こちらで販売中
ヤフーショッピングではこちらで販売中
<在庫、直販に関して>:現在、販売中。直販は「10)予約、直販に関して」から。>
高強度青物ギャフ:
型式:SG8200T
JAN:4582497270204
寸法(設計値)
ギャフ全体:全長20cm、幅12.5cm、線径8mm
フック部:長さ17cm、幅10cm、フトコロ(ゲープ)8.8cm
ネジ部: W1/2(タモの柄に一致)、ネジ長20mm
重量:175g
材質:ステンレス(フック部―高強度鋼)
適用範囲:3kg〜50kg(耐強度65kg)
対象魚:青物、シイラ、キハダ、GT 等
製法:ハンドメイド
製造販売:服部商会
高い足場で引く事により、掛けるコンセプトです。高強度鋼を使い、炉で 1200〜1300℃に加熱し、叩いてカエシを切り、曲げて作った鍛造品(オールハンドメイド)である為、高い耐強度の割に軽量であり、長い柄に取り付け、高い足場で使用する厳しい使用環境に適。カエシが付いている為、フライングギャフとして、切り離して使用する場合も、ギャフが外れにくい。
鍛冶鍛造品は、加熱した状態で叩きますので、組織が締まり、強度が増す事は広く知られています。ギャフはフックと同様に構造上片持ちであり、その耐強度は、その硬度に大きく依存します。本ギャフ使用の高強度鋼は標準ステンレス=SUS304(=18−8ステンともいう、市販のギャフの95%はこれ)とは全く違うものです(同業者に仕事のやり方を教えてやる必要は無いので具体的鋼種番号は非開示とします)。本高強度鋼は生の状態で既に SUS304 素材の 2〜2.5 倍の硬度があり、硬すぎて冷間加工(常温での加工)は不能、よって加熱して軟らかくして、叩いて整形しています(加熱もしないでベンダーで、数秒で曲がってしまうカエシも無い SUS304 製品とは手間が違いますし、材料代も違う)。更に作製したカエシをヤスリで補整しようとしても、まだ新しいヤスリが滑ってしまってまともに掛からないので、特定部位に急冷による硬化が実現されている事が確認できます(これに対して SUS304 は熱によって組織変化は起きず、急冷したとしても焼きは入りません)。
又市販のギャフの中には、丸棒を曲げただけではない、複雑な構造(手前が太く先が細いとか特殊)のギャフも見受けられますが、此れは鋳造由来の製品と推察されます(具体的な事は承知していない)。鋳造は、複雑な形状の部品を大量に然も同一形状に安価に製造できる製法ですが、強度を求められる用途にはあまり向かない事は、広く知られています。「形状的に強そうに見えたのに、なんで、これで口が開くの?」と言った事例がネットを探すとチラホラ出ています。構造が複雑なものを、鍛造でやればできない事は無いが、一日で一個作るのは無理だと思うので、そういう物を一万円以下で売るのは不可能だと思います。
当会ギャフが求めるものは防錆力や綺麗さではなく、強度である。片持ち構造であるがために、強度は硬度に大きく依存します。硬度はカーボン(炭素)含有量が大きく関係します。そしてカーボンは錆の原因要素でもあります。つまり、防錆力(錆の発生の少なさ)と強度は同時に両立しません。両者は反比例の関係にあります。当会ギャフは SUS304 ギャフより強度が明確に強い(数割増しではなく数倍強い・・当会比)ですが、錆びに弱い為、後述するように釣行後の防錆の為の手入れをお願いしております。形状に関して:市販のギャフの多くが掛ける事を優先して、針先を外に向け、掛けたら、針先を貫通させて外に出し、噛んだ魚肉を湾曲部に引き入れ、其処で荷重に耐えるという想定をして、ギャフの形状を決めております。然し 40 sも 60 sもあるような魚の魚体というのはギャフの大きさよりはるかに大きいので、針先が外に出る訳がないのです。針先は魚体に食い込むだけになります。そうすると、魚体の中心は突き出た針先のその外側にあって、重心は予定した湾曲部から遠く離れた外側に来て、ギャフの針先が荷重に耐えられません。
当会の本ギャフは湾曲部から針先に掛けての軸をギャフ主軸に略並行にすることにより、口の開きに対する抵抗を高めております。荷重を縦に受け、湾曲部でそれを分散して支持する構成です。以上説明した複数の構成により、当会ギャフは最大で50〜60sの魚にも対応可能な強度を維持しながら、5〜6mの長柄に取り付けて、一人でぎりぎり操作可能な重量(175g)を実現しております。
旧モデル(6.5mm径=軽量高強度青物ギャフ)での45s耐荷重テスト
高強度青物ギャフ(JAN:4582497270204)のフトコロ、全体寸法を示す写真(軸径8mm、全長20cm、フトコロ8.8cm)
高強度青物ギャフ(JAN:4582497270204)の掌とのサイズ比較写真(重量175g)
本ギャフは最も使用頻度が高いと思われる10kg〜20kg の大型青物シイラ等を5〜6mの長柄で取り込むことを最大の目的とし、万一30kg 級キハダ等が食いついてきたとしても一人で取り込む事を目指しています(二人いれば50〜60sも可能)。市販のSUS304ギャフで、8o径で30kgの魚体に耐えられるギャフなどまず無いです(当会ギャフを除いて、・・当方は30kg級魚で8mmのSUS304ギャフが、口が開いて魚が落ちるシーンを現場で何度も目撃したのでその事は知っています)。根拠なく大丈夫と思っている人は、実際に大物にギャフを打った事が無い人です。
フライングギャフ用アダプターは現在開発中ですが販売迄にはしばらく掛かりますのでとりあえず市販の物をご利用下さい(ネジ合います・・W1/2)。
<注意喚起:詐欺サイトが多数存在します>。当会ギャフは詐欺集団にターゲットにされており、多数の詐欺サイトに当会ギャフの写真文章が無断でそのまま載せられています(安く)。ネット上の当会ギャフの写真をクリックすると、詐欺サイトが表示されるようになっています(多数、価格は大幅安)。当会はamazon価格を下回る価格では何処にも卸しておらず、下回る価格で出回る事はありえません。当会が販売しているのはamazon, ヤフオク、yahoo shopping、ラクマの4窓口と直販のみで価格は同じ。詐欺サイトは商品を持っておらず、これは通信販売を装った振込詐欺ですから、引っ掛からないよう注意して下さい(ウイルスチェックが起動してブロックする所は全て詐欺サイト)。
c)高強度ダブルギャフ(ニューモデル)
ロープリングの線径を太くして(5mm→6mm)、新たにニューモデルとして、販売を再開しました。此れにより、数十キロの大物狙いでも、ロープを主軸に巻く必要はなくなりました。
現在、 amazon.co.jp
で「高強度ダブルギャフ(ニューモデル) 」の名称で「 ASIN :B08DTG2Y2S
で販売中
又、ヤフーオークションでは こちらで販売中
ヤフーショッピングはこちらで販売中
<在庫、直販に関して:1/7本品は在庫切れ中、次の売り出しは2月中を予定。>
高強度ダブルギャフ(ニューモデル)仕様:
型式:WG6170TN
寸法(設計値):
全長17cm、幅9.3cm、線径6.4mm
フック部:長さ14cm、幅8.6cm、フトコロ7cm
ネジ部: W1/2(タモの柄に一致)、ネジ長20mm
重量:200g
材質:ステンレス、フック部―高強度鋼(焼きが入っています)
適用範囲:2kg〜50kg(耐強度60kg)
対象魚:青物、シイラ、ヨコワ、キハダ
製法:ハンドメイド
製造販売:服部商会
高強度ダブルギャフ(ニューモデル)の全体及び寸法写真 (此れで30〜40kgキハダOK)
<ユーザーズアプリケーションビデオ>ゴリハンTV  「式根島キハダ祭り」←クリック
26:35「ここで事件発生」以降に本ギャフが映っています。解り辛いですが、一匹目(既にギャフ外し済み)に引き続いて映っている二匹目に本ギャフが打たれています。40〜60kgのキハダがボコボコ?(27:38に4匹映っている)。このギャフはゴリハン氏の物ではなく、青いシャツの人の物のようです。釣ったのが青いシャツの人で、ゴリハン氏はその人のギャフで、ギャフ掛けしてあげた?その後、青いシャツの人は、左端でファイト中の人の横にギャフ持ってスタンバっているのが映っています。(27:12)。
<ユーザーズアプリケーションフォット>  「1」←クリック(参考・・旧モデル)
<ユーザーズアプリケーションフォット>  「1/2」←クリック(参考・・旧モデル)
<ユーザーズアプリケーションフォット>  「2/2」←クリック(参考・・旧モデル)。クローズアップで顎の下にダブルギャフが(パワーアダプターでフライングギャフに)
<有益ネット情報>  
「Kamaji Labo.」←クリック(参考・・旧モデル)
10)予約、直販に関して
予約、直販は下記により、お願い致します。
詳細はこちら←クリック
11)権利に関して
〔T〕冒頭で述べております通り、本大物用落し込みダブルギャフとそのシステム及びギャフ掛け方法(取り込み方法=やり方)は特許(全八項目)であり、商標(「落し込みダブルギャフ」は登録商標)を合わせますと、全部で9項目の独占権が本件(ギャフ及び其の技術、名称)に関して、設定されており、その全てが現時点に於いて、法的に有効です。本件特許の特徴は、ギャフ其の物が特許であると認めた事に加えて、ギャフ掛け方法(取り込み方法=やり方)自体が(使うギャフが本特許ギャフであるか否かに関わらず=ギャフに関係なく)特許であると認めた点であり、更に、ギャフに付属するシステム(=補助システム・・複数のやり方あり)がギャフそれ自体とは別に特許である、と認めた点であります。この件に関する事実確認及びその内容確認は、特許庁ホームページの特許情報プラットフォーム( J-PlatPat )の検索画面からできます。上手く検索できない方は、此処( INPIT 、03−3581−1101)に電話して誘導してもらう事もできます。
特許は、特許公報に記載の、「特許請求の範囲」の各請求項の文言(其れによって特定される物又は方法)に対して与えられたものです。特許公報は特許の登録が済み、有効となった特許が掲載される公報です。特許要件は新規性と進歩性の二点ですが、多くの出願が新規性は認められるも、進歩性が否定されて拒絶されます。進歩性とは何かと調べますと、「特別な技術的特徴を有する」と規定されていて、特別な技術的特徴とは何かと調べますと、「特別な技術的特徴とは、発明の先行技術に対する貢献を明示する技術的特徴をいう」と規定されています。審査案件の、特許に値すると出願人が主張する、技術内容が、先行技術から、容易に到達しえたかどうかの論理づけを行い、論理づけが出来た場合は進歩性無し、論理づけできなかった場合は進歩性有り、と判断されるようです。
本ホームページは技術方法教示の為に作った訳ではありません。技術内容を理解して頂き、商品を購入して頂く為に、作ったものです。本ギャフ及び其の技術に関し、当服部商会に属する特許権者が、特許法第68条に規定する、特許発明の実施をする権利を専有しております。此処に本商品を買って頂いた方には、同技術の使用を認めますが、そうでない方には、認めない事を宣言します。
〔U〕 特許は「特許請求の範囲」の各請求項の文言に対して与えられたものです。
特許第4988949号(請求項五項目)
特許第4988970号(請求項三項目)
「落し込みダブルギャフ」は登録商標:登録第5540603号
上記のうち、特許第4988970号の請求項1の内容を以下に記します。
特許第4988970号
【請求項1】
ロープを使ってギャフ掛けを行うロープギャフによるギャフ掛け方法において、ギャフに対するガイドとしての機能を果たす柔軟性の巻き体を、道糸ごと竿に巻くか、或いは巻き体に替わる柔軟性のループ体を竿尻から通してリールの前に持ってきて、それによりギャフを、竿そしてライン伝いに落とし込み、魚の口元に到達させた後、ロープを上下動させることと魚自体の暴れを利用して、口に掛かっている鈎に繋がっているライン上の口元に近い箇所を揺動支点として、ギャフを魚体周りに振ってやり、其れによって、魚体にフッキングさせることを特徴とするギャフ掛け方法。
その内容は以上の様になっています。これはつまり、「ガイドの機能を果たす柔軟性のループ体(輪)を竿に通すギャフ掛け方法」が特許である、と認めたものです(裁判になれば裁判官が判断)。此れは方法特許と呼ばれるもので、広い権利範囲を有します。重要な点は、フックの本数が何本であるとか、ギャフの形状がどうであるとか、一切の制限を設けていない事であります。ギャフがどのようなものであろうと、特許権者の許諾無しに、この行為を行う事は、直接侵害になり得ます。
此処で留意すべき事は、特許法が、直接侵害とは別に、間接侵害の規定を、方法特許に関して、以下の様に設けている点であります。
(侵害とみなす行為)
第百一条 次に掲げる行為は、当該特許権又は専用実施権を侵害するものとみなす。
五 特許が方法の発明についてされている場合において、その方法の使用に用いる物(日本国内において広く一般に流通しているものを除く。)であつてその発明による課題の解決に不可欠なものにつき、その発明が特許発明であること及びその物がその発明の実施に用いられることを知りながら、業として、その生産、譲渡等若しくは輸入又は譲渡等の申出をする行為
この条文は特許権者以外の者が方法特許を利用して利益を得る事を禁ずるものです。仮に、裁判の結果、侵害行為があった、という判決が出れば、侵害者は民事上の義務(損害賠償、相手側訴訟費用の負担・・裁判官が判断)を負う事となりますが、仮に其れが故意(特許の存在を知っていてやった、確信犯)と認定された場合は、民事に加えて、侵害罪として刑事罰の適用対象にもなり得ます(特許法第196条の2)。警告書を受け取った後は、「知らなかった」という主張も通らない事になっています。
当商会から商品を購入頂いた方には上記特許の使用を認めますが、そうでない方には此れを認めません。以上の様な訳ですので、本技術に関わろうと考える人は、事前に専門家(弁理士、弁護士)の意見をよく聞き、判断をした上で行動される事をお勧め致します。
服部商会
〒862−0901 熊本県熊本市東区東町4−16−9−406
TEL,FAX: 096−365−0269
E−MAIL:
12)リンク (↓クリック)